Curiosii for ever!: Car repair manuals for everyone.

Outside Air Temperature Sensor Replacement (Without Climate Control)




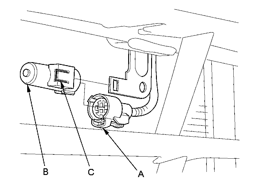
Outside Air Temperature Sensor Replacement

1. Disconnect the 2P connector (A) from the outside air temperature sensor (B).





2. Lift the tab (C) to release the lock, then remove the outside air temperature sensor from the front bumper.

3. Install the sensor in the reverse order of removal.