Curiosii for ever!: Car repair manuals for everyone.

A/T System Description - Electronic Control System




A/T System Description - Electronic Control System

Electronic Control System

Electronic Control

The electronic control system consists of the powertrain control module (PCM), sensors, and solenoid valves.

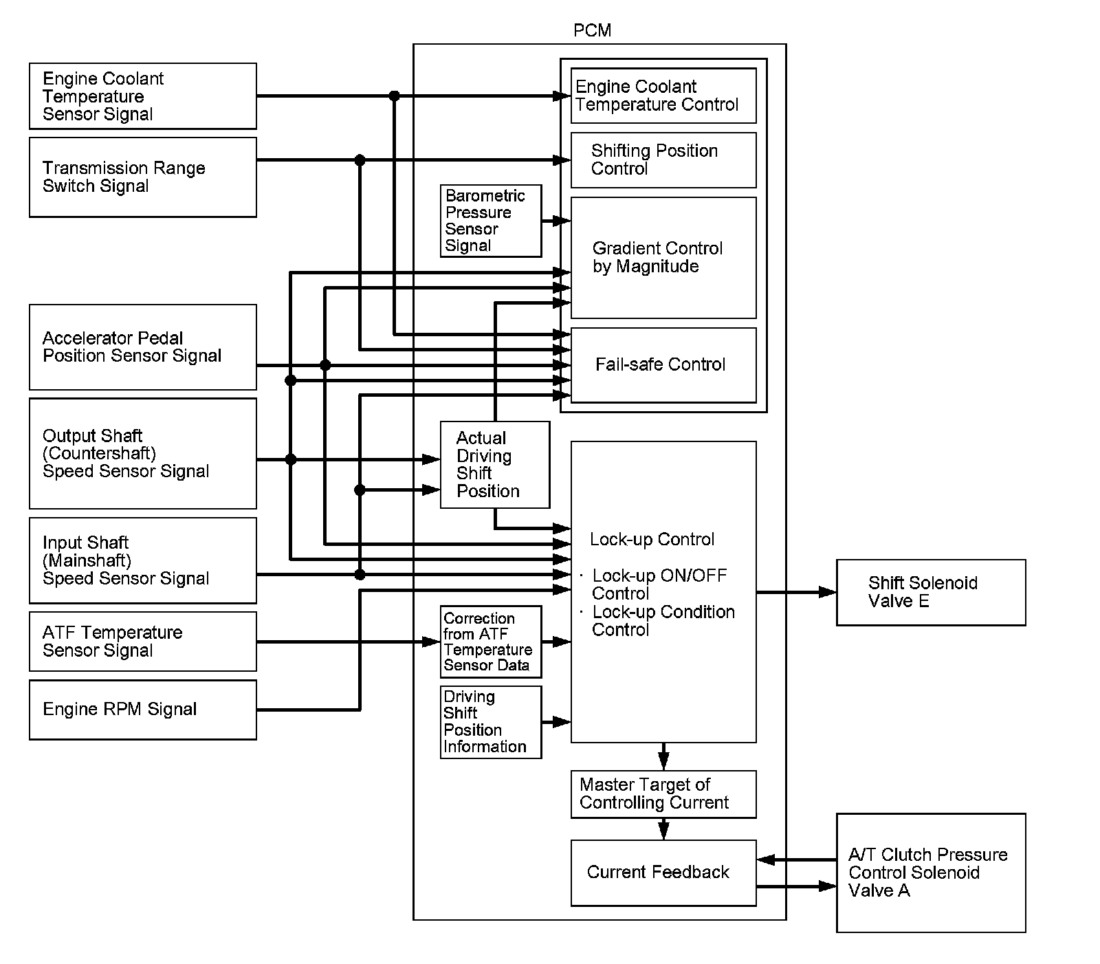
Functional Diagram

The PCM receives input signals from sensors, switches, and other control units, processes data, and outputs signals for the engine control system and the A/T control system. The A/T control system includes shift control, grade logic control, clutch pressure control, and lock-up control. The PCM switches the shift solenoid valves and the A/T clutch pressure control solenoid valves to control shifting transmission gears and lock-up torque converter clutch.






Electronic Control System (cont'd)

Shift Control

The PCM instantly determines which gear should be selected by various signals sent from sensors and switches, and it actuates shift solenoid valves A, B, C, D, and E to control gear selection.

The PCM turns shift solenoid valves A, B, C, D, and E ON and OFF to control gear selection. All shift solenoid valves are normally closed (ON-OPEN/OFF-CLOSED). The shift solenoid valve port opens to allow ATF to pass through when the PCM turns it ON, and the port closes, blocking fluid flow when turned ON. The combination of driving signals to shift solenoid valves A, B, C, D, and E for each year are in the following table.






Shift Control-Grade Logic

A grade logic control system is used to control shifting in D and D3. The PCM compares actual driving conditions with programmed driving conditions, based on the input from the accelerator pedal position sensor, the engine coolant temperature sensor, the barometric pressure sensor, the brake pedal position switch signal, and the shift lever position signal, to improve shifting control while the vehicle is ascending or descending a slope.






Electronic Control System (cont'd)

Grade Logic Control: Ascending Control

When the PCM determines that the vehicle is climbing a hill in D and D3, the system extends the engagement area of 2nd, 3rd, and 4th gears to prevent the transmission from frequently shifting between 2nd and 3rd gears, between 3rd and 4th gears, and between 4th and 5th gears, so the vehicle can run smooth and have more power when needed.

Shift programs stored in the PCM between 2nd and 3rd gears, between 3rd and 4th gears, and between 4th and 5th gears, enable the PCM to automatically select the most suitable gear based on the steepness of the grade.






Grade Logic Control: Descending Control

When the PCM determines that the vehicle is going down a hill in D and D3, the upshift speed from 4th to 5th gear, from 3rd to 4th gear, and from 2nd to 3rd gear (when the throttle is closed) becomes higher than the set speed for flat road driving to extend the 4th gear, 3rd gear, and 2nd gear driving area. This, in combination with engine braking from the deceleration lock-up, achieves smooth driving when the vehicle is descending. There are three descending modes stored in the PCM with different 4th gear, 3rd gear, and 2nd gear driving areas based on the steepness of the grade. When the vehicle is in 5th gear or 4th gear, and the vehicle is decelerating while applying the brakes on a steep hill, the transmission will downshift to lower gear. When you accelerate, the transmission will then return to a higher gear.






Shift-Hold Control

When driving on winding roads, the throttle is suddenly released and the brakes are applied, as is the case when decelerating at the entrance of a curve, shift-hold control keeps the transmission in its current (lower) ratio as it negotiates the corner and accelerates out.

When the vehicle is driven aggressively on a winding road, the PCM extends the engagement time of 3rd gear and 4th gear to prevent the transmission from frequently shifting between 3rd, 4th, and 5th gears.

The PCM monitors the average change in the vehicle speed and throttle over time. When these values exceed those for normal driving conditions, the upshift from 3rd to 4th gear and 4th to 5th gear is delayed. This gives more control over power, and the engine braking. The transmission resumes the normal upshift pattern after the PCM determines that normal driving has resumed.






Electronic Control System (cont'd)

Clutch Pressure Control

The PCM actuates A/T clutch pressure control solenoid valves A, B, and C to control the clutch pressure. When shifting between lower and higher gears, the clutch pressure regulated by A/T clutch pressure control solenoid valves A, B, and C engages and disengages the clutch smoothly.

The PCM receives input signals from the various sensors and switches, processes data, and outputs current to A/T clutch pressure control solenoid valves A, B, and C.






Lock-up Control

Shift solenoid valve E controls the hydraulic pressure to switch the lock-up shift valve ON and OFF. The PCM actuates shift solenoid valve E and A/T clutch pressure control solenoid valve A, lock-up start. A/T clutch pressure control solenoid valve A applies and regulates hydraulic pressure to the lock-up control valve to control the volume of the lock-up.

The lock-up mechanism operates in D (2nd, 3rd, 4th, and 5th gears), and in D3 (2nd and 3rd gears).






Electronic Control System (cont'd)

Self-diagnosis

If the PCM detects the failure of a signal from a sensor, a switch, a solenoid valve, or from another control unit, it stores a Pending or Confirmed DTC. Depending on the failure, a Confirmed DTC is stored in either the first or the second drive cycle. When a DTC is stored, the PCM blinks the D indicator and/or turns on the malfunction indicator lamp (MIL) by a signal sent to the gauge control module via F-CAN.

- One Drive Cycle Detection Method:
When an abnormality occurs in the signal from a sensor, a switch, a solenoid valve, or from another control unit, the PCM stores a Confirmed DTC for the failure and blinks the D indicator and/or turns on the MIL immediately.
- Two Drive Cycle Detection Method:
When an abnormality occurs in the signal from a sensor, a switch, a solenoid valve, or from another control unit in the first drive cycle, the PCM stores a Pending DTC. The D indicator and the MIL do not turns on at this time. If the failure continues in the second drive cycle, the PCM stores a Confirmed DTC and blinks the D indicator and/or turns on the MIL.

Fail-safe Function

When an abnormality occurs in the signal from a sensor, a switch, a solenoid valve, or from another control unit, the PCM ignores it and substitutes a pre-programmed value for that signal to allow the automatic transmission to continue operating. This causes a DTC to be stored and the D indicator to blink and/or the MIL to come on. The transmission may not shift normally during fail-safe operation. Do not run the test driving diagnosis when the MIL is ON, or the D indicator is blinking.

PCM A/T Control System Electrical Connections





Electronic Control System (cont'd)

PCM A/T Control System Inputs and Outputs at PCM Connector A square (49P)











PCM A/T Control System Inputs and Outputs at PCM Connector B triangle (49P)











Electronic Control System (cont'd)

PCM A/T Control System Inputs and Outputs at PCM Connector B triangle (49P)











PCM A/T Control System Inputs and Outputs at PCM Connector C circle (49P)