Curiosii for ever!: Car repair manuals for everyone.

Tightening Torque

Cylinder head bolt

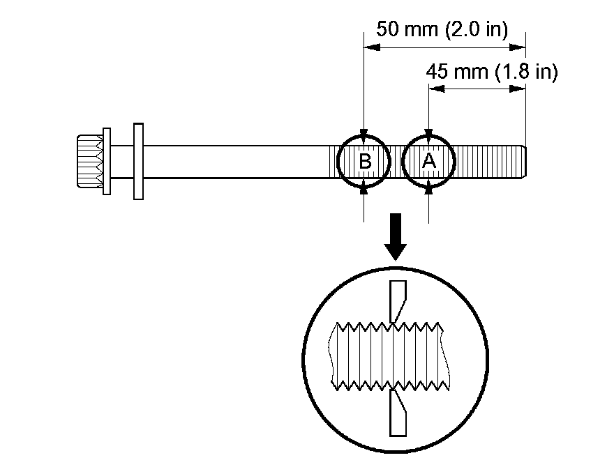
Measure the diameter of each cylinder head bolt at point A and point B.





If either diameter is less than 10.6 mm (0.42 in), replace the cylinder head bolt.





Step 1 39 Nm (4.0 kg-m, 29 lb-ft)
Step 2 90°
Step 3 additional 90°

If using a new bolt, tighten the bolt an extra 90°

Intake manifold Specifications

Camshaft gears Specifications