Curiosii for ever!
: Car repair manuals for everyone.
Home
>>
Honda
>>
2010
>>
Accord L4-2.4L
>>
Repair and Diagnosis
>>
Specifications
>>
Mechanical Specifications
>>
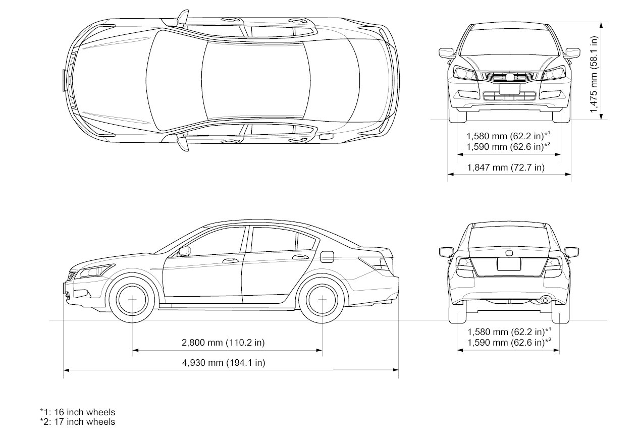
Body Specifications (4-Door)
Body Specifications (4-Door)
Body Specifications
4-door Model: