Curiosii for ever!: Car repair manuals for everyone.

Manual Transmission Reassembly




Manual Transmission Reassembly

Special Tools Required

- Holder handle 07JAB-001020A
- Attachment, 40 x 50 mm I.D. 07LAD-PW50601
- Mainshaft holder 07PAB-001A300
- Companion flange holder 07RAB-TB4010B
- Bearing driver attachment, 42 x 47 mm 07746-0010300
- Bearing driver attachment, 62 x 68 mm 07746-0010500
- Bearing driver attachment, 72 x 75 mm 07746-0010600
- Inner driver handle, 40 mm 07746-0030100
- Driver handle, 15 x 135L 07749-0010000
- Inner driver handle, 30 mm 07946-MB00000
- Attachment, 35 mm I.D. 07965-SA50500

Transmission Housing Installation

NOTE: Prior to reassembling, clean all the parts in solvent, dry them, and apply MTF to any contact surfaces.

1. Install the oil seal (A) using the 42 x 47 mm bearing driver attachment (B) and the 15 x 135L driver handle (C).






2. Install the release bearing guide (A) with three bolts (B), the clutch release hanger (C), the release hanger spring (D) with two bolts (E), and the breather plate (F) with a bolt (G).






3. Install the thrust washer (A) and the 64 mm spring washer (B).

4. Install reverse idler gear (C), the mainshaft (D), the countershaft (E), and the shift forks assembly (F) using snap ring pliers, and set the 68 mm snap ring (G) into the groove of the countershaft bearing.
NOTE: Check that the snap ring is securely seated in the groove of the countershaft bearing.





5. Apply liquid gasket, P/N 08718-0001, evenly to the mating surface of the threads of the 34 mm sealing bolt (H) and the transmission housing. Install the component within 5 minutes of applying the liquid gasket.
NOTE:

- If you apply liquid gasket P/N 08718-0012, the component must be installed within 4 minutes.

- If too much time has passed after applying the liquid gasket, remove the old gasket and residue, then reapply new liquid gasket.









6. Install the 1st/2nd shift piece.






7. Install the select return spring (A) and the 8 x 40 pin (B) onto the clutch housing, then install the interlock (C).






8. Install shift arm A by aligning the interlock finger and the shift fork grooves.






9. Install the shift rod (A) into the interlock assembly (B) with the recessed hole (C) toward the top of the clutch housing (D), then install a new 5 x 25 spring pin(E).






10. Install the outer side 1st/2nd shift lever (A) first, then install the inner side 1st/2nd shift lever (B) as shown.

11. Install the 8 x 63 pin (C), then tighten the 10 mm flange bolt (D).






12. Install the needle bearing (A), the reverse gear shaft (B), the thrust washer (C), and the reverse shaft holder (D), then install the washer and the 8 mm flange bolt.






13. Install the oil guide pipe (A) and the magnet (B).






14. Install oil guide plate M and the 82 mm shim(s) (A).






15. Install the oil pump strainer (A), the suction guide (B), and the circlip (C).






16. Install the 16 x 26 x 7 mm oil seal (A) as shown.






17. Install oil guide plate S and the 68 mm shim (A), then install the bearing outer race (B) using the 62 x 68 mm bearing driver attachment (C) and the 15 x 135L driver handle (D) as shown.






18. Clean any dirt or oil from the transmission housing mating surface. Apply liquid gasket, P/N 08718-0001 evenly to the mating surface of the transmission housing and the clutch housing. Install the component within 5 minutes of applying the liquid gasket.
NOTE:

- If you apply liquid gasket P/N 08718-0012, the component must be installed within 4 minutes.

- If too much time has passed after applying the liquid gasket, remove the old liquid gasket and residue, then reapply new liquid gasket.

- Allow it to cure at least 20 minutes after assembly before filling the transmission with MTF.





19. Install the 14 x 20 dowel pins (B), the transmission housing (C), the 8 mm flange bolts, the transmission hanger (D), and transmission hanger A.






20. Tighten the 8 mm flange bolts in a crisscross pattern in several steps as shown.










21. Apply liquid gasket, P/N 08718-0001, evenly to the mating surface of the threads of the set screws (A), then install the steel balls, the springs, and the set screws. Install the component within 5 minutes of applying the liquid gasket.
NOTE:

- If you apply liquid gasket P/N 08718-0012, the component must be installed within 4 minutes.

- If too much time has passed after applying the liquid gasket, remove the old liquid gasket and residue, then reapply new liquid gasket.

22. Install the back-up light switch (B) with a new washer (C).






23. Install the drain plug (A) and the 12 mm drain plug (B) with new sealing washers (C), and install the vehicle speed sensor (VSS) ('00-05 models) or the output shaft (countershaft) speed sensor ('06-09 models) (D) with a new O-ring (E). Install the filler plug (F) finger-tight.

24. Apply liquid gasket, P/N 08718-0001, evenly to the mating surface of the threads of the set screws (G), then install the steel balls, the springs, and the set screws. Install the component within 5 minutes of applying the liquid gasket.
NOTE:

- If you apply liquid gasket P/N 08718-0012, the component must be installed within 4 minutes.

- If too much time has passed after applying the liquid gasket, remove the old liquid gasket and residue, then reapply new liquid gasket.





25. Install the oil pump inner and outer rotors (A), the steel ball (B), the spring (C), and the oil pump plate (D).






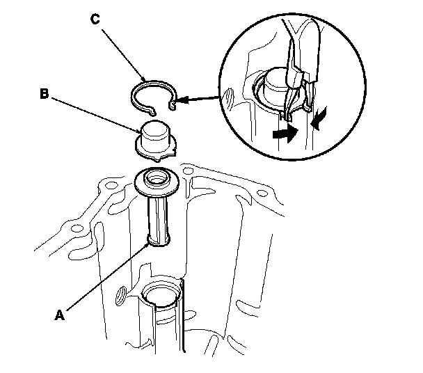
26. Install the secondary drive gear (A) on the countershaft using the 30 mm inner driver handle (B) as shown.






27. Install the needle bearing (A) on the countershaft using the 35 mm I.D. attachment (B) as shown.






28. Install the spring washer (A) and a new 29 mm locknut (B) finger-tight (left-hand threads).






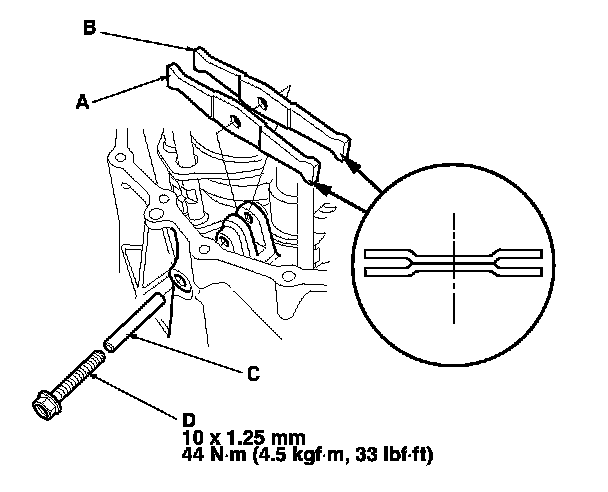
29. Install the mainshaft holder (A) onto the mainshaft spline, then tighten the 29 mm locknut (left-hand threads) to the specified value.










30. Stake the 29 mm locknut tab into the groove.






31. Install the oil pump gear (A) and oil pump gear shaft (B).






Rear Cover Installation

NOTE: Prior to reassembling, clean all the parts in solvent, dry them, and apply MTF to any contact surfaces.

1. Install the bearing outer race (A) using the 72 x 75 mm bearing driver attachment (B) and the 15 x 135L driver handle (C) as shown.






2. Install the shim (A) and the bearing outer race (B) into the rear cover using the 62 x 68 mm bearing driver attachment (C) and the 15 x 135L driver handle (D) as shown.






3. Install the secondary shaft assembly into the rear cover.






4. Install a new ball bearing (A) using the 35 mm I.D. attachment (B) and the old bearing (C).






5. Install a new oil seal (A) using the 40 x 50 mm I.D. attachment (B), the 42 x 47 mm bearing driver attachment (C), and the 15 x 135L driver handle (D) as shown.






6. Install the companion flange (A) using the 40 mm inner driver handle (B) as shown.






7. Install a new O-ring (A), the back-up ring (B), the spring washer (C), and a new 27 mm locknut (D) as shown.






8. Install the holder handle (A) and the companion flange holder (B) on the companion flange, then tighten the 27 mm locknut the to the specified value.










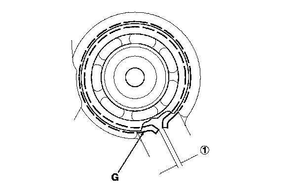
9. Stake the 27 mm locknut tab into the groove.






10. Install the shift rod tube and new O-rings.






11. Clean any dirt or oil from the rear cover mating surface. Apply liquid gasket, P/N 08718-0001, evenly to the mating surface of the rear cover and transmission housing. Install the component within 5 minutes of applying the liquid gasket.
NOTE:

- If you apply liquid gasket P/N 08718-0012, the component must be installed within 4 minutes.

- If too much time has passed after applying the liquid gasket, remove the old liquid gasket and residue, then reapply new liquid gasket.





12. Install the 14 x 20 dowel pins (A), the rear cover assembly (B), the harness bracket (C), the harness clamp (D), and the 8 mm flange bolts.






13. Tighten the 8 mm flange bolts in a crisscross pattern in several steps.

Specified Torque:










14. Lower the shift rod (A), then install shift arm B, a new conical spring washer (C), and the 8 mm special bolt.






15. Install the shift lever housing and the dowel pins.