Curiosii for ever!: Car repair manuals for everyone.

M/T Countershaft Assembly Clearance Inspection




M/T Countershaft Assembly Clearance Inspection

NOTE: If replacement is required, always replace the synchro sleeve and synchro hub as a set.

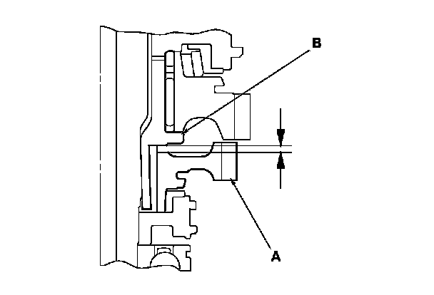
1. Measure the clearance between 2nd gear (A) and 3rd gear (B) with a dial indicator.
- If the clearance exceeds the service limit, go to step 2.

- If the clearance is within the service limit, go to step 3.










2. Measure the thickness of 2nd gear.
- If the thickness is less than the service limit, replace 2nd gear.

- If the thickness is within the service limit, replace the 1st/2nd synchro hub and the 1st/2nd synchro sleeve as a set.





'00-03 models





'04-09 models





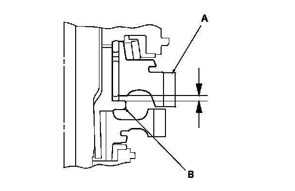
3. Measure the clearance between 1st gear (A) and the 1st/reverse gear distance collar (B) with a dial indicator.
- If the clearance exceeds the service limit, go to step 4.

- If the clearance is within the service limit, go to step 6.










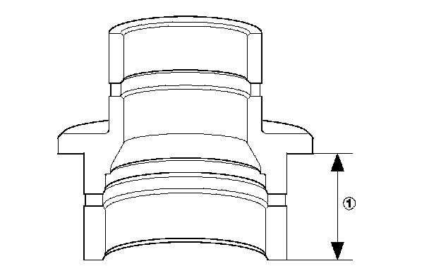
4. Measure the length (1) of the 1st/reverse gear distance collar as shown.
- If the length (1) is not within the standard, replace the 1st/reverse gear distance collar.

- If the length (1) is within the standard, go to step 5.










5. Measure the thickness of 1st gear.
- If the thickness is less than the service limit, replace 1st gear.

- If the thickness is within the service limit, replace the 1st/2nd synchro hub and the 1st/2nd synchro sleeve as a set.










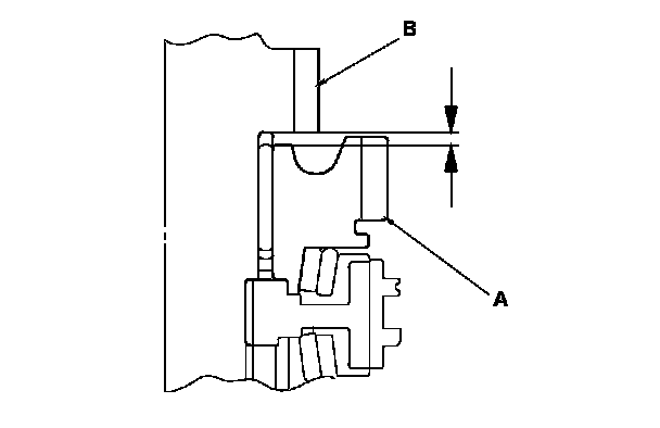
6. Measure the clearance between reverse gear (A) and the 1st/reverse gear distance collar (B) with a dial indicator. If the clearance exceeds the service limit, go to step 7.










7. Measure the length (2) of the 1st/reverse gear distance collar as shown.
- If the length (2) is not within the standard, replace the distance collar.

- If the length (2) is within the standard, go to step 8.










8. Measure the thickness of reverse gear.
- If the thickness is less than the service limit, replace reverse gear.

- If the thickness is within the service limit, replace the reverse synchro hub and the reverse synchro sleeve as a set.