Curiosii for ever!: Car repair manuals for everyone.

Steering Column Lock: Service and Repair




Steering Lock Replacement

1. Remove the steering column. Service and Repair

2. Center punch both of the shear bolts, and drill their heads off with a 5 mm (3/16 in.) drill bit. Be careful not to damage the switch body when removing the shear bolts.

3. Remove the shear bolts from the switch body.

4. Install the switch body without the key inserted.

5. Loosely tighten the new shear bolts.

6. Insert the ignition key, and check for proper operation of the steering wheel lock and that the ignition key turns freely.






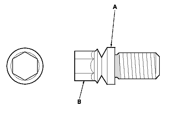
7. Tighten the shear bolts (A) until the hex heads (B) twist off.

8. Install the steering column. Service and Repair

9. Rewrite the immobilizer control unit-receiver with the HDS, and make sure the immobilizer system works properly.