Curiosii for ever!: Car repair manuals for everyone.

Impact Sensor: Service and Repair




Front Impact Sensor Replacement

Removal ('06-09 models)

1. Do the battery terminal disconnection procedure, Procedures then wait at least 3 minutes before starting work.

2. Remove the front bumper. Front Bumper Removal/Installation (Except CR model)

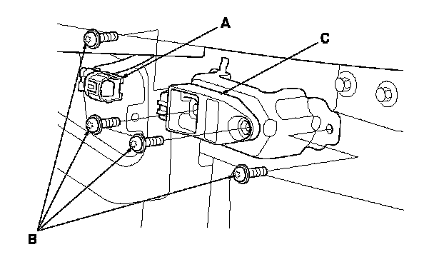
3. Disconnect the engine compartment wire harness 2P connector (A), and using a TORX T30 bit, remove the TORX bolts (B), then remove the front impact sensor (C).






Installation

1. Install the front impact sensor with new TORX bolts (A), then connect the engine compartment wire harness 2P connector (B) to the front impact sensor (C).

2. Do the battery terminal reconnection procedure. Procedures

3. Install all removed parts.

4. Clear any DTCs. Initial Inspection and Diagnostic Overview

5. Confirm proper operation: Turn the ignition switch to ON (II); the SRS indicator should come on for about 6 seconds and then go off.