Curiosii for ever!: Car repair manuals for everyone.

Clockspring Assembly / Spiral Cable: Service and Repair




Cable Reel Replacement

Removal ('00-05 models)

1. Make sure the front wheels are aligned straight ahead.

2. Do the battery terminal disconnection procedure, Procedures then wait at least 3 minutes before starting work.

3. Remove the driver's airbag. Drivers Airbag Replacement

4. Remove the steering wheel. Steering Wheel Removal

5. Remove the column cover screws (A), then remove the column covers (B, C).






6. Disconnect the SRS main harness 2P connector (A) from the cable reel 2P connector (B), then disconnect the dashboard wire harness 4P connector (C) from the cable reel (D).






7. Remove the screws (A) from the cable reel, then remove the cable reel from the column.






Removal ('06-09 models)

1. Make sure the front wheels are aligned straight ahead.

2. Do the battery terminal disconnection procedure, Procedures then wait at least 3 minutes before starting work.

3. Remove the driver's airbag. Drivers Airbag Replacement

4. Remove the steering wheel. Steering Wheel Removal

5. Remove the column cover screws (A), then remove the column covers (B, C).






6. Disconnect the SRS main harness 4P connector (A) from the cable reel 4P connector (B), then disconnect the dashboard wire harness 3P connector (C) from the cable reel 3P connector (D).






7. Release the lock tab (A) under the cable reel connector with a 90 ° hook shaped tool (B). Slide the tool below the cable reel connector just above the lock tab.






Installation ('00-05 models)

1. Before installing the steering wheel, the front wheels should be aligned straight ahead.

2. Do the battery terminal disconnection procedure, Procedures then wait at least 3 minutes before starting work.

3. Set the turn signal canceling sleeve (A) so that the projections (B) are aligned vertically.






4. Carefully install the cable reel (A) on the steering column shaft. Then connect the 4P connector (B) to the cable reel, and connect the 2P connector (C) to the SRS main harness 2P connector (D).

5. Install the steering column covers.






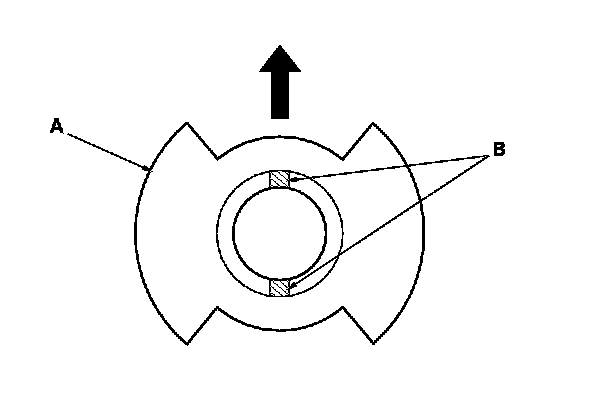
6. If necessary, center the cable reel. (New replacement cable reels come centered.) Do this by first rotating the cable reel clockwise until it stops.
Then rotate it counterclockwise (about 2 1/2 turns) until the arrow mark on the cable reel label points straight up.






7. Position the two tabs (A) of the turn signal canceling sleeve (B) as shown, and install the steering wheel on to the steering column shaft, making sure the steering wheel hub (C) engages the pins (D) of the cable reel and tabs of the canceling sleeve. Do not tap on the steering wheel or steering column shaft when installing the steering wheel.






8. Install the steering wheel bolt (A), and tighten it to 39 N-m (4.0 kgf-m, 29 lbf-ft).

9. Connect the cruise control switch connector (B).

10. Install the driver's airbag. Drivers Airbag Replacement

11. Do the battery terminal reconnection procedure. Procedures

12. Clear any DTCs. Initial Inspection and Diagnostic Overview

13. After installing the cable reel, confirm proper system operation:
- Turn the ignition switch to ON (II); the SRS indicator should come on for about 6 seconds and then go off.

- After the SRS indicator has turned off, turn the steering wheel fully left and right to confirm the SRS indicator does not come on.

- Make sure the horn and turn signal switches work properly.

- Make sure the steering wheel switches work properly.





Installation ('06-09 models)

1. Before installing the steering wheel, the front wheels should be aligned straight ahead.

2. Do the battery terminal disconnection procedure, Procedures then wait at least 3 minutes before starting work.

3. Set the turn signal canceling sleeve (A) so that the projections (B) are aligned vertically.






4. Carefully install the cable reel (A) on the steering column shaft. Then connect the 3P connector (B) to the cable reel 3P connector (C), and connect the 4P connector (D) to the SRS main harness 4P connector (E).

5. Install the steering column covers.






6. If necessary, center the cable reel. (New replacement cable reels come centered.) Do this by first rotating the cable reel clockwise until it stops.
Then rotate it counterclockwise (about 2 1/2 turns) until the arrow mark on the cable reel label points straight up.






7. Position the two tabs (A) of the turn signal canceling sleeve (B) as shown, and install the steering wheel on to the steering column shaft, making sure the steering wheel hub (C) engages the pins (D) of the cable reel and tabs of the canceling sleeve. Do not tap on the steering wheel or steering column shaft when installing the steering wheel.






8. Install the steering wheel bolt (A), and tighten it to 39 N-m (4.0 kgf-m, 29 lbf-ft).

9. Connect the cruise control switch connector (B).

10. Install the driver's airbag. Drivers Airbag Replacement

11. Do the battery terminal reconnection procedure. Procedures

12. Clear any DTCs. Initial Inspection and Diagnostic Overview

13. After installing the cable reel, confirm proper system operation:
- Turn the ignition switch to ON (II); the SRS indicator should come on for about 6 seconds and then go off.

- After the SRS indicator has turned off, turn the steering wheel fully left and right to confirm the SRS indicator does not come on.

- Make sure the horn and turn signal switches work properly.

- Make sure the steering wheel switches work properly.