Curiosii for ever!
: Car repair manuals for everyone.
Home
>>
Honda
>>
2009
>>
S2000 L4-2.2L
>>
Repair and Diagnosis
>>
Powertrain Management
>>
Fuel Delivery and Air Induction
>>
Fuel Return Line
>>
Testing and Inspection
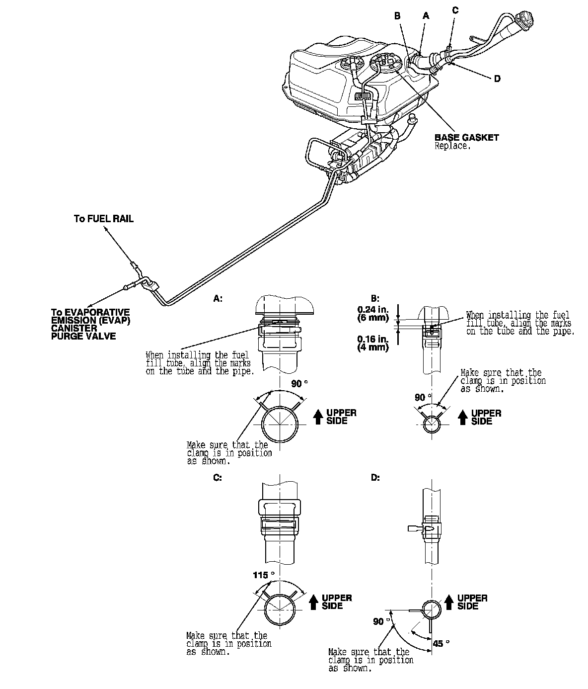
Fuel Return Line: Testing and Inspection
Fuel Line Inspection
Check the fuel system lines and the hoses for damage, leaks, and deterioration. Replace any damaged parts.
Check all clamps, and make sure they are properly positioned and tightened.