Curiosii for ever!: Car repair manuals for everyone.

Tires: Service and Repair




Tire Sealant Removal

NOTE:

- This procedure is only to be used with the temporary tire repair sealant.

- The tire inflator and temporary repair sealant are used on vehicles without a spare tire.

- The temporary repair sealant used to repair the tire must be removed before the tire is permanently repaired.

- The temporary repair sealant (once used or past the expiration date) is considered hazardous waste, and must be disposed of in an environmentally safe manner (such as used engine oil and coolant). Check with your local regulations for proper disposal.

- The expiration date of the temporary repair sealant is printed on the label of the container.

1. Raise the vehicle, and support it with safety stands in the proper locations. Service and Repair

2. Remove the appropriate wheel and deflate the tire.

3. Place the wheel and tire assembly up right with the tire valve hole at the 6 o'clock position.

4. Remove the valve stem nut (A) and the washer (B), then push the tire pressure sensor (C) into the wheel, down into the tire.
NOTE:

- Be careful not to spill the tire sealant from the valve stem hole (D).

- Check the nut and the washer. If they have deteriorated or become damaged, replace with new ones during reassembly.





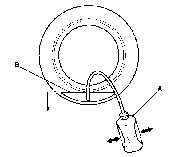
5. Use a commercially available squeeze bottle (A) or a siphon gun, or hand vacuum tool with a proper tube to remove the tire sealant. Insert the tube into the tire through the valve stem hole, and stick it down until the end of the tube is immersed into the sealant (B).

6. Remove the tire sealant. To completely empty the tire of sealant, carefully rock the wheel back and forth.
NOTE: If using the bottle with the tube, set the bottle in a lower position than the tire and squeeze the bottle to siphon the tire sealant into the bottle.

7. Completely seal and dispose of the bottle containing the tire sealant in the proper manner for hazardous waste. Check with your local regulations.






8. Remove the tire from the wheel, and remove the tire pressure sensor (A) and the grommet (B) (if removed) from inside the tire.

9. Completely rinse the tire pressure sensor with cold water to remove the tire sealant.
NOTE: Do not use any soap or cleaner. Use cold water only. Make sure the tire sealant does not stick to the sensor. If the sealant has dried onto the tire pressure sensor, then the sensor must be replaced. Service and Repair

10. If you are repairing the tire for reuse, completely wipe out the inside of the tire, fix the flat, and reinstall the tire pressure sensor Service and Repair a new tire valve.
NOTE:

- Wipe the fluid sealant completely so that the beaded edge of the tire and the mating portion of the wheel rim and the bead are cleared.

- The damaged portion such as punctures may be filled with the fluid sealant, depending on the extent of the damage.

11. Clean the mating surfaces of the brake disc and the inside of wheel, then install the wheel.

12. Test-drive the vehicle at 28 mph (45 km/h) or more for at least 1 minute.

13. Make sure the TPMS indicator or the low tire pressure indicator does not come on. Initial Inspection and Diagnostic Overview
NOTE: Using the tire sealant once may cause to be TPMS faulty. In this case replace the tire pressure sensor. Service and Repair

14. Reduce the pressure in one tire less than 150 kPa (1.5 kgf/cm2, 22 psi).

15. Make sure the low tire pressure indicator turns on. Initial Inspection and Diagnostic Overview If the low tire pressure indicator does not come on, replace the tire pressure sensor. Service and Repair

16. Inflate the tire. Service and Repair