Curiosii for ever!: Car repair manuals for everyone.

Wiper Blade: Service and Repair




Wiper Blade Replacement

Windshield

NOTE: Always pull up the driver's side wiper blade first.

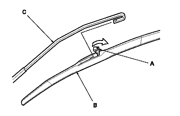
1. Pull up and hold the tab (A) of the wiper blade assembly (B), and remove the wiper blade assembly from the wiper arm (C).






2. Slide the wiper blade (A) out of the wiper blade holder (B).






3. Align the groove (A) in each rail (B) with the tabs in a new wiper blade, then install the new wiper blade and rails into the blade holder in the reverse order of removal.

4. Install the wiper blade assemblies onto the wiper arms in the reverse order of removal.

5. Test the wiper operation. If the blades slip, turn the wiper switch OFF, and reinstall the blades securely.






Rear Window

1. Turn the wiper blade assemblies (A), and remove the lock from the wiper arm (B).






2. Pull the wiper blade (A) up, and slide it out from the wiper blade holder (B).

3. Install a new wiper blade in the reverse order of removal.

4. Install the wiper blade onto the wiper arm in the reverse order of removal.

5. Test the wiper operation. If the blade slips, turn the wiper switch OFF, and reinstall the blade securely.