Curiosii for ever!: Car repair manuals for everyone.

Rear Door Window Glass: Service and Repair




Rear Door Glass and Regulator Replacement

NOTE:

- Put on gloves to protect your hands.

- Take care not to scratch the door or related parts.

1. Remove the these items:
- Rear door glass outer weatherstrip Service and Repair

- Rear door rear sash trim

- Rear door panel Service and Repair

- Speaker Speaker Test/Replacement

2. Disconnect the power door lock actuator connector (A), then detach the harness clips (B).

3. Remove the plug caps (C). Pass the wire harness (D) through the hole (E) in the plastic cover (F), then remove the plastic cover.

NOTE: If the plastic cover is damaged or torn, replace it.






4. Carefully move the glass (A) until you can see the bolts, then remove them.
NOTE: Take care not to drop the glass inside the door.






5. Pull the glass run channel (A) away as needed. Loosen the nut, and remove the bolt securing the rear lower channel (B).






6. Release the rear lower channel (A) from the glass (B).
-1 Pull the channel forward, then remove the nut portion (C) from the door.
-2 Twist the channel to pass it through the gap between the door panel and the rear sash.
-3 Pull the channel up to remove it.






7. Remove the rear lower channel (A) from the glass run channel (B).






8. Carefully remove the glass (A) out through the window slot. Take care not to drop the glass inside the door.






9. Disconnect and detach the connector (A) from the regulator (B).

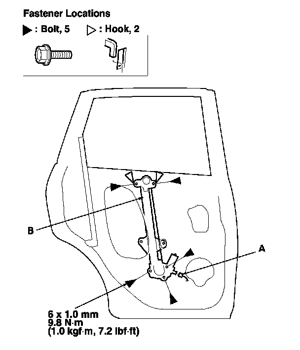
10. Remove the bolts, pull the regulator up to release the hooks, then remove the regulator through the hole in the door.






11. Apply multipurpose grease to all the sliding surfaces of the regulator (A) where shown.

12. Install the glass and regulator in the reverse order of removal, and note these items:
- Move the glass up and down to verify it moves freely without binding.

- Make sure that there is no clearance between the glass and glass run channel when the glass is closed.

- Adjust the position of the glass as necessary. Adjustments

- When reinstalling the door panel, make sure the plastic cover is installed properly and sealed around its outside perimeter to seal out water.

- Check for water leaks. Adjustments

- Test-drive, and check for wind noise and rattles.

- Make sure the power door locks and the windows operate properly.