Curiosii for ever!: Car repair manuals for everyone.

Front Corner Glass Replacement




Front Corner Glass Replacement

NOTE:

- Put on gloves to protect your hands.

- Wear eye protection while cutting the glass adhesive.

- Use seat covers to avoid damaging any surfaces.

- The front corner trim and the front corner glass clips are damaged during glass removal and must be replaced.

1. Remove these items:
- A-pillar corner trim A-Pillar Corner Trim Replacement

- A-pillar trim, both sides Interior Trim Removal/Installation - A-Pillar Trim

2. Remove rubber dams A and B from the edge of the front corner glass. If necessary, cut the rubber dams with a utility knife.

3. Remove the front corner trim (C).
-1 Pull out the upper edge of the front corner trim.
-2 Pull out the lower edge of the front corner trim while detaching it from the adhesive (D), then remove it.
-2 NOTE: Always replace the front corner trim with a new one.






4. Apply protective tape along the inside and outside edges of the body. Make a hole with an awl through the adhesive from inside the vehicle at a corner of the front corner glass. Push a piece of piano wire through the hole, and wrap each end around a piece of wood.

5. With a helper on the outside, pull the piano wire (A) back and forth in a sawing motion. Hold the piano wire as close to the front corner glass (B) as possible to prevent damage to the body, and carefully cut through the adhesive (C) around the entire front corner glass.

6. Carefully remove the front corner glass.

7. Scrape smooth the old adhesive, using a putty knife or similar tool, until there is a thickness of about 2 mm (0.08 in.) on the bonding surface around the entire front corner glass opening flange:
- Do not scrape down to the painted surface of the body; damaged paint will interfere with proper bonding.

- Remove the clips and the rubber dams from the body.

8. Clean the body bonding surface with a shop towel dampened in isopropyl alcohol. After cleaning, keep oil, grease, and water from getting on the surface.

9. If you are reinstalling the old front corner glass, use a putty knife to scrape off all of the old adhesive and the clips from the front corner glass. Clean the bonding surface on the inside face of the front corner glass and the edge of the glass with isopropyl alcohol. Make sure the bonding surface is kept free of water, oil, and grease.






Cutting positions





10. Apply glass primer to the inside face of the corner glass, and let the primer dry, then attach the front corner trim (A) with adhesive tape to the front corner glass (B) as shown.
- Be careful not to touch the glass where adhesive will be applied.

- Make sure the rear, top, and bottom trim edges of the trim and the glass line up.

- After placing the trim on the glass, remove the adhesive backing (C) from the adhesive tape (D), then press the adhesive portions into place.










11. Attach seals A and B to the inside face of the quarter glass trim (C). Be sure the top edges of the seals line up with the alignment lines (D) on the trim as shown.






12. Attach clips A and B with adhesive tape to the inside face of the front corner glass (C) as shown:
- Be careful not to touch the glass where adhesive will be applied.

- Make sure the upper corner of the upper of clips B contacts the inner shape of the front corner trim (D).

- Make sure the upper and front edges of clip A fit into the hole in the front corner trim.














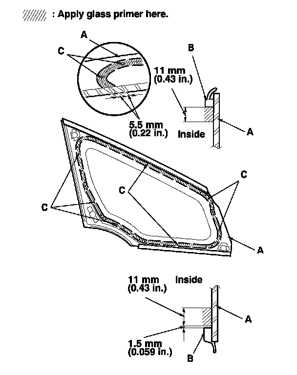
13. Apply glass primer to the inside face of the front corner glass as shown, and let the primer dry, then attach rubber dams A and B with adhesive tape to the inside face of the front corner glass (C).
NOTE:

- Be careful not to touch the front corner glass where adhesive will be applied.

- Be sure the rear edge of each rubber dam contacts with the edge of the front corner trim.

- Cut the rubber dams flush with the front edge of the front corner glass.










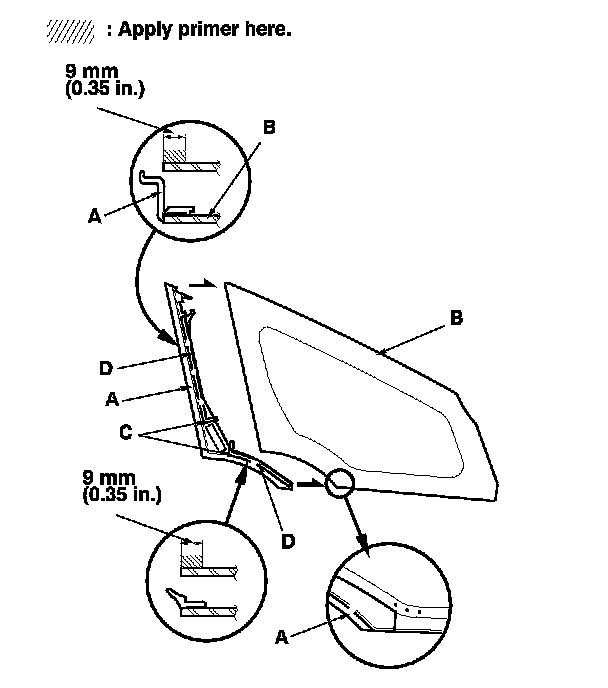
14. Apply a light coat of glass primer to the inside face of the front corner glass (A) along the edge of the rubber dams (B) as shown, then lightly wipe it off with gauze or cheesecloth:
- Apply the glass primer to the front and rear portions of the front corner glass, using the printed dots (C) on the front corner glass as a guide.

- Do not apply body primer to the front corner glass, and be careful not to mix up the body and glass primer sponges.

- Never touch the primed surfaces with your hands. If you do, the adhesive may not bond to the front corner glass properly, causing a leak after the front corner glass is installed.

- Keep water, dust, and abrasive materials away from the primed surface.





15. Apply a light coat of body primer to any exposed paint or metal around the front corner glass mounting flange. Let the body primer dry for at least 10 minutes:
- Do not apply glass primer to the body, and be careful not to mix up glass and body primer sponges.

- Do not apply body primer to any remaining original adhesive on the flange.

- Never touch the primed surfaces with your hands.

- Mask off the dashboard before applying the primer.





16. Cut a "V" in the end of the nozzle (A) on the adhesive cartridge as shown.






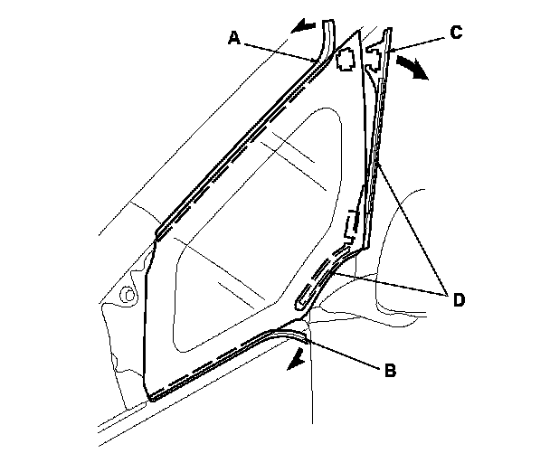
17. Put the cartridge in a caulking gun, and run a continuous bead of adhesive (A) around the edge of the front corner glass (B), along the rubber dams (C, D), and along the front corner trim (E) as shown.
Apply the adhesive to the front and rear portions of the front corner glass, using the printed dots (F) on the front corner glass as a guide.

Apply the adhesive within 30 minutes after applying the glass primer. Make a slightly thicker bead at each corner.






18. Use suction cups (A) to hold the front corner glass (B) over the opening, align it with the clips (C, D), and set it down on the adhesive. Lightly push on the front corner glass until its edges are fully seated on the adhesive all the way around.
NOTE: Do not open or close any of the doors for about an hour until the adhesive is dry.

19. Remove the excess adhesive with a putty knife or a shop towel dampened with isopropyl alcohol.

20. Wait at least one hour for the adhesive to dry, then spray water over the front corner glass and check for leaks. Mark the leaking areas and let the front corner glass dry, then seal with sealant. Let the vehicle stand for at least 4 hours after front corner glass installation. If the vehicle has to be used within the first 4 hours, it must be driven slowly.

21. Reinstall all remaining removed parts.
NOTE: Advise the customer not to do the following things for 2 to 3 days:

- Slam the doors with all the windows rolled up.

- Twist the body excessively (such as when going in and out of driveways at an angle or driving over rough, uneven roads).