Curiosii for ever!: Car repair manuals for everyone.

Drivers Power Window Motor Test




Driver's Power Window Motor Test

Motor Test

1. Remove the power window master switch. Power Window Master Switch Replacement

2. Test the motor in each direction by connecting battery power and ground to the power window master switch 22P connector (A) according to the table.

3. If the motor does not run or fails to run smoothly, go to step 4, if the motor runs smoothly, go to step 8.

4. Remove the door panel. Service and Repair











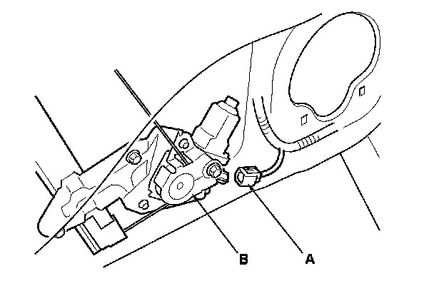
5. Disconnect the 6P connector (A) from the driver's power window motor (B).






6. Check for continuity between power window master switch 22P connector terminals No. 9 and No. 10 and driver's power window motor 6P connector terminals No. 1 and No. 4 respectively. There should be continuity.





7. If the wire harness is OK, replace the driver's power window motor.






Pulser Test

8. Check for continuity between the driver's power window motor 6P connector terminal No. 2 and body ground. There should be continuity.
- If there is continuity, go to step 9.

- If there is no continuity, check for an open in the BLK wire or poor ground (G501).

9. Do the power window master switch test for terminals No 5, No. 6, and No. 16.. Power Window Master Switch Test