Curiosii for ever!: Car repair manuals for everyone.

End Cover Installation




End Cover Installation

Special Tools Required

- Mainshaft holder 07GAB-PF50101
- Gear installer set 070AC-XFD0100
1. Install the special tool onto the mainshaft.

2. Lubricate the following parts with ATF:
- Splines and threads of the mainshaft.

- Splines of the mainshaft idler gear.

- Old conical spring washer and old locknut.





3. Install the mainshaft idler gear (A), the old conical spring washer (B), and the old locknut (C) on the mainshaft (D), and tighten the locknut to 216 N-m (22.0 kgf-m, 159 lbf-ft).
NOTE:

- Do not tap the idler gear to install.

- Use a torque wrench to tighten the locknut. Do not use an impact wrench.

4. Lubricate the following parts with ATF:
- Splines and threads of the secondary shaft and idler gear shaft.

- Splines of the secondary shaft idler gear.

- Old conical spring washer and old locknut.





5. Install the secondary shaft idler gear (A) on the secondary shaft (B), and install the idler gear shaft idler gear (C) on the idler gear shaft (D).






6. Set the special tool on the idler gear shaft and idler gear, and tighten the installer nut to install the idler gear part-way.
NOTE: The installer nut has left-hand threads.






7. Install the old conical spring washer (A) and the old locknut (B) on the secondary shaft (C), and tighten the locknut to 226 N-m (23.0 kgf-m, 166 lbf-ft).
NOTE:

- Do not tap the idler gear to install.

- Use a torque wrench to tighten the locknut. Do not use an impact wrench.

- The secondary shaft locknut has left-hand threads.





8. Retighten the installer nut to seat the idler gear in the idler gear shaft until it stops. Remove the special tool from the idler gear shaft.






9. Install the new snap ring (A) on the idler gear shaft (B), and verify that the snap ring is seated securely into the groove.






10. Install the park lever (A) and the park lever stop (B) on the selector control shaft (C), then install the lock bolt and the new lock washer (D). Do not bend the lock tab of the lock washer until step 23.

11. Install the park pawl shaft (E), the park pawl spring (F), the park pawl (G), and the stop shaft (H) on the transmission housing.

12. Lubricate the following parts with ATF:
- Threads and splines of the countershaft.

- Old conical spring washer and old locknut.

- Areas where the park gear contacts the conical spring washer.

13. Install the park gear (I), the old conical spring washer (J), and the old locknut (K) on the countershaft.

14. Lift the park pawl up, and engage it with the park gear, then tighten the locknut to 226 N-m (23.0 kgf-m, 166 lbf-ft).
NOTE:

- Do not tap the park gear to install.

- Use a torque wrench to tighten the locknut. Do not use an impact wrench.

- The countershaft locknut has left-hand threads.

15. Remove the locknuts and the conical spring washers from the mainshaft, the countershaft, and the secondary shaft.

16. Lubricate the threads of the shafts, the new locknuts, and the new conical spring washers with ATF.






17. Install the new conical spring washers (A) (B) in the direction shown, and install the new mainshaft locknut (C), the new countershaft locknut (D), and the new secondary shaft locknut (E).

18. Tighten the countershaft locknut and the secondary shaft locknut to 167 N-m (17.0 kgf-m, 23 lbf-ft), and tighten the mainshaft locknut to 155 N-m (15.8 kgf-m, 114 lbf-ft).
NOTE:

- Be sure to install the conical spring washers in the direction shown.

- Use a torque wrench to tighten the locknuts. Do not use an impact wrench.

- Countershaft and secondary shaft locknuts have left-hand threads.

19. Remove the special tool from the mainshaft.






20. Stake the locknuts into the shafts to a depth (A) of 0.7-1.3 mm (0.03-0.05 in.) using a 3.5 mm punch (B).






21. Set the park pawl (A) in the P position, then verify that the park pawl engages with the park gear (B).

22. If the park pawl does not engage fully, check center-to-center distance (C) between the pawl shaft (D) and the park lever roller pin (E). Park Lever Stop Inspection and Adjustment

23. Tighten the lock bolt (F), and bend the lock tab of the lock washer (G) against the bolt head.






24. Install the ATF lubrication pipe (A) into the idler gear shaft (B).

25. Install the new gasket (C) on the transmission housing, and install the two dowel pins (D) and new O-rings (E) over the top of the ATF feed pipes (F).

26. Install the end cover (G), and tighten the 17 bolts.






27. Using the selector control shaft end on the torque converter housing side, turn the control shaft (A) fully clockwise (view from end cover) to the P position. Turn the control shaft back two click-stopped positions so that it is in the N position.
NOTE: Do not squeeze the end of the selector control shaft tips together when turning the shaft. If the control shaft tips are squeezed together it will cause a faulty signal or position due to play between the selector control shaft and the switch.






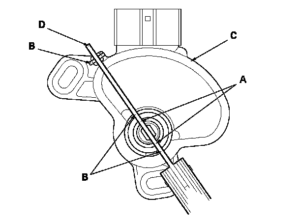
28. Align the cutouts (A) on the rotary-frame with the neutral positioning cutouts (B) on the transmission range switch (C), then put a 2.0 mm (0.08 in.) feeler gauge blade (D) in the cutouts to hold the switch in the N position.
NOTE: Be sure to use a 2.0 mm (0.08 in.) blade or equivalent to hold the switch in the N position.






29. Install the transmission range switch (A) gently on the selector control shaft (B) while holding it in the N position with the 2.0 mm (0.08 in.) blade (C).






30. Tighten the bolts on the transmission range switch while you continue to hold it in the N position. Do not move the transmission range switch while tightening the bolts. Remove the feeler gauge.






31. Install the harness clamp bracket (A) on the end cover (B).

32. Install the connector bracket (C) on the transmission housing.

33. Connect the transmission range switch connector (D) securely, then install the harness clamps (E) on the clamp bracket.

34. Install the transmission range switch cover (F).






35. Install a new O-ring (A) on the input shaft (mainshaft) speed sensor (B), then install the input shaft (mainshaft) speed sensor.

36. Install a new O-ring (C) on the output shaft (countershaft) speed sensor (D), then install the output shaft (countershaft) speed sensor.






37. Install a new gasket (B) on the transmission housing, and install the ATF pipe (C) and the ATF joint pipes (D).

38. Install new O-rings (E) over the ATF joint pipes, and install the A/T clutch pressure control solenoid valve A.






39. Install a new gasket (A) with the blue side facing the transmission housing and the white side facing the A/T clutch pressure control solenoid valve body.

40. Install the ATF pipe (D) and the ATF joint pipes (E), and install the new O-rings (F) over the ATF joint pipes.

41. Install A/T clutch pressure control solenoid valve B and C.






42. Install the ATF outlet line (A) on the torque converter housing, and secure it with the line bolt (B) and new sealing washers (C).

43. Secure the ATF outlet line with the bracket bolt.






44. Install the transmission hanger.






45. Install the breather hose clamp bracket, and install the clamp on the bracket.






46. Install the ATF filter bracket (A).

47. Install the ATF inlet line and hose (B) on the torque converter housing, and secure it with the line bolt (C) and new sealing washers (D).

48. Put the ATF filter (E) on its bracket, and secure with the holder (F) and the bolt.

49. Secure the inlet line with the bolts (G) on the transmission.