Curiosii for ever!: Car repair manuals for everyone.

A/T Pressure Test




A/T Pressure Test

Special Tools Required

- A/T oil pressure gauge set 07406-0020400 or 07406-0020401
- A/T pressure hose, 2,210 mm 07MAJ-PY4011A
- A/T pressure adapter 07MAJ-PY40120
1. Make sure the transmission fluid is filled to the proper level. ATF Level Check

2. Raise the vehicle on a lift, or apply the parking brake, block both rear wheels, and raise the front of the vehicle. Make sure it is securely supported.

3. Allow the front wheels to rotate freely.

4. Remove the splash shield.






5. Connect the HDS to the DLC (A), and go to the A/T data list. If the HDS does not communicate with the PCM, troubleshoot the DLC circuit. Testing and Inspection






6. Connect the oil pressure gauge to the line pressure inspection port (A). Do not allow dust or other foreign particles to enter the hole while connecting the gauge.

7. Start the engine, and warm it up to normal operating temperature (the radiator fan comes on).

8. Measure the line pressure at the line pressure inspection port in P or N while holding the engine speed at 2,000 rpm.
NOTE: Higher pressure may be indicated if measurements are made in the shift lever position other than P or N.





9. Turn the engine off, then disconnect the oil pressure gauge from the line pressure inspection port.

10. Install the sealing bolt to the line pressure inspection port with a new sealing washer, and tighten the bolt to 18 N-m (1.8 kgf-m, 13 lbf-ft). Do not reuse the old sealing washer.

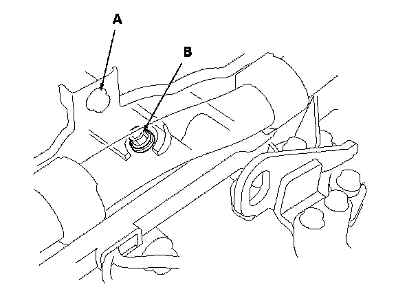
11. Remove the air cleaner assembly. Service and Repair






12. Remove the coolant hose bracket bolt (A). Connect the oil pressure gauge to the 1st clutch pressure inspection port (B), then temporarily install the air cleaner assembly.






13. Connect the oil pressure gauge to the 2nd clutch pressure inspection port (C).

14. For seven-position transmission: Measure the 1st and 2nd clutch pressure.
-1 Start the engine, and shift to 1.
Measure the 1st clutch pressure at the 1st clutch pressure inspection port while holding the engine speed at 2,000 rpm.
-3 Shift to 2, and measure the 2nd clutch pressure at the 2nd clutch pressure inspection port while holding the engine speed at 2,000 rpm.

15. For five-position transmission: Measure the 1st and 2nd clutch pressure.
Start the engine.
-2 Disable the VSA by pressing the VSA OFF switch for VSA-equipped model.
Shift to S.
-4 Pull the paddle shifter + (upshift switch), make sure the transmission is in 1st gear, and measure the 1st clutch pressure at the 1st clutch pressure inspection port while holding the engine speed at 2,000 rpm.
Upshift to 2nd gear by pulling the paddle shifter +, and measure the 2nd clutch pressure at the 2nd clutch pressure inspection port while holding the engine speed at 2,000 rpm.





16. Turn the engine off, remove the air cleaner assembly, then disconnect the oil pressure gauges from the 1st clutch pressure and 2nd clutch pressure inspection ports. Reinstall the coolant hose bracket bolt.

17. Install the sealing bolts to the 1st clutch pressure and 2nd clutch pressure inspection ports with the new sealing washers, and tighten the bolts to 18 N-m (1.8 kgf-m, 13 lbf-ft). Do not reuse old sealing washer.

18. Install the air cleaner assembly. Service and Repair






19. Connect the oil pressure gauge to the 3rd clutch pressure inspection port (D) and the 4th clutch pressure inspection port (E).






20. Connect the oil pressure gauge to the 5th clutch pressure inspection port (F).

21. For seven-position transmission: Measure the 3rd, 4th, and 5th clutch pressures.
-1 Start the engine, and shift to D3, then press the accelerator pedal slowly until reaching 3rd gear.
Measure the 3rd clutch pressure at the 3rd clutch pressure inspection port while holding the engine speed at 2,000 rpm.
-3 Shift to D, and measure the 4th clutch pressure at the 4th clutch pressure inspection port.
Measure the 5th clutch pressure at the 5th clutch pressure inspection port while holding the engine speed at 2,000 rpm.

22. For five-position transmission: Measure the 3rd, 4th, and 5th clutch pressures.
-1 Start the engine.
Disable the VSA by pressing the VSA OFF switch for VSA-equipped model.
-3 Shift to S.
Upshift to 3rd gear by pulling the paddle shifter +, and measure the 3rd clutch pressure at the 3rd clutch pressure inspection port while holding the engine speed at 2,000 rpm.
-5 Upshift to 4th gear by pulling the paddle shifter +, and measure the 4th clutch pressure at the 4th clutch pressure inspection port while holding the engine speed at 2,000 rpm.
Upshift to 5th gear by pulling the paddle shifter +, and measure the 5th clutch pressure at the 5th clutch pressure inspection port while holding the engine speed at 2,000 rpm.





23. Bring the engine back to an idle, then press the brake pedal to stop the wheels from rotating.

24. Shift to R, then release the brake pedal. Raise the engine speed to 2,000 rpm, and measure the 5th clutch pressure at the 5th clutch pressure inspection port.





25. Turn the engine off, then disconnect the oil pressure gauges from the 3rd, 4th, and 5th clutch pressure inspection ports.

26. Install the sealing bolts in the 3rd, 4th, and 5th clutch pressure inspection ports with the new sealing washers, and tighten the bolts to 18 N-m (1.8 kgf-m, 13 lbf-ft). Do not reuse the old sealing washer.

27. If any of the pressures are out of the service limit, refer to the problems and probable causes listed in the table.





28. Install the splash shield.

29. Clear the VSA DTCs with the HDS.