Curiosii for ever!: Car repair manuals for everyone.

Auxiliary Power Outlet: Service and Repair




Accessory Power Socket Test/Replacement

NOTE: If the accessory power socket does not work, check the No. 13 (20 A) fuse in the under-dash fuse/relay box and ground (G502) first.

1. Remove the center lower trim. Dashboard Center Lower Trim Removal/Installation

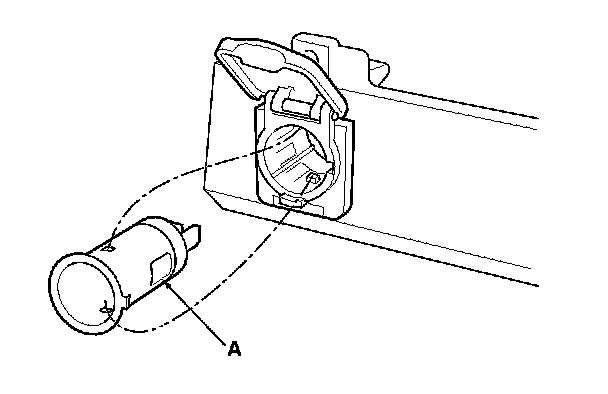
2. Disconnect the 2P connector (A) and the AUX connector (B) (if equipped).

3. Inspect the connector terminals to be sure they are all making good contact.
- If the terminals are bent, loose, or corroded, repair them as necessary and recheck the system.

- If the terminals look OK, go to step 4.

4. Turn the ignition switch to ACC (I).

5. Measure the voltage between the accessory power socket 2P connector terminal No. 1 and body ground. There should be battery voltage.
- If there is battery voltage, go to step 6.

- If there is no battery voltage, check for an open in the wire.

6. Check for continuity between the accessory power socket 2P connector terminal No. 2 and body ground. There should be continuity.
- If there is continuity, go to step 7.

- If there is no continuity, check for open in the wire or ground (G502).





7. Remove the socket (A).






8. Remove the housing (A) from the panel.

9. Install the power socket in the reverse order of removal.