Curiosii for ever!: Car repair manuals for everyone.

Piston, Pin, and Connecting Rod Replacement




Piston, Pin, and Connecting Rod Replacement

Special Tools Required

- Piston base 07973-6570500
- Piston base spring 07973-6570600
- Pilot pin 070AF-PWC0110
- Piston base head 07PAF-0010400
- Pilot collar, O.D. 18 mm 070AF-PWC0130
- Insert adjuster 070AF-PWC0120
- Adjustable piston pin driver head 07973-6570201
- Piston base head insert 07PAF-0010500

Disassembly

1. Assemble the special tool as shown.






2. Temporarily install the pilot collar (A) over the pilot pin (B), and adjust the piston base head inserts as shown, then tighten the screws (C). Remove the pilot collar.






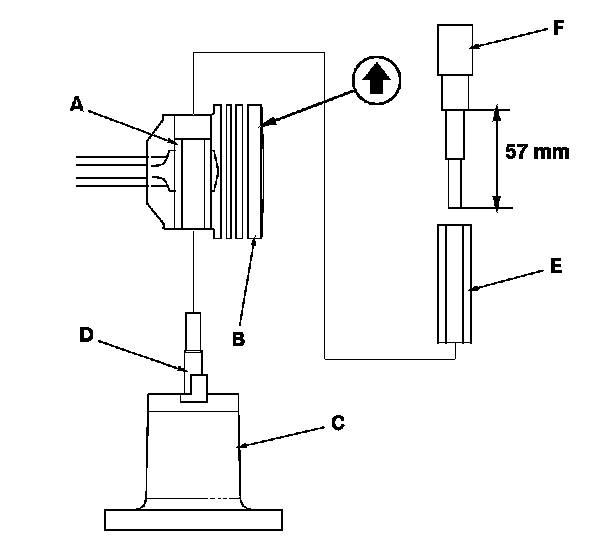
3. Assemble and adjust the length of the adjustable piston pin driver head and insert adjuster to 57 mm (2.2 in.).






4. With the arrow on top of the piston pointing up, place the piston assembly (A) on the special tool (B).
Be sure you position the recessed flat area of the piston against the piston base head inserts (C) as shown.

5. Press the pin (D) out with the pin driver (E), the pilot collar (F), and a hydraulic press.






Inspection

1. Measure the diameter of the piston pin.

Piston Pin Diameter










2. Zero the dial indicator to the piston pin diameter.






3. Measure the piston pin-to-piston clearance.

Piston Pin-to-Piston Clearance










4. Check the difference between the piston pin diameter and connecting rod small end diameter.

Piston Pin-to-Connecting Rod Interference










Reassembly

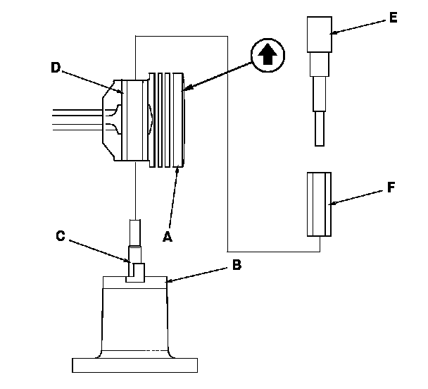
1. Assemble the piston and connecting rod with the arrow (A) and the embossed mark (B) on the same side.






2. Insert the pilot collar (A) into the piston and the connecting rod.






3. With the arrow on top of the piston and the embossed mark on the connecting rod facing up, place the piston assembly (B) on the special tool (C). Be sure you position the recessed flat area of the piston against the piston base head inserts (D) as shown.

4. Press the pin (E) in with the pin driver (F) and a hydraulic press.