Curiosii for ever!: Car repair manuals for everyone.

System Description




Navigation System Description

Overview

The navigation system is a highly-sophisticated, hybrid locating system that uses satellites and a map database to show you where you are and to help guide you to a desired destination.

The navigation system receives signals from the global positioning system (GPS), a network of 24 satellites in orbit around the earth. By receiving signals from several of these satellites, the navigation system can determine the latitude, longitude, and elevation of the vehicle. In addition, signals from the system's yaw rate sensor and the ECM/PCM (vehicle speed pulse) enable the system to keep track of the vehicle's direction and speed of travel.

This hybrid system has advantages over a system that is either entirely self-contained or one that relies totally on the GPS. For example, the self-contained portion of the system can keep track of vehicle position even when satellite signals cannot be received. When the navigation system is on, the GPS can keep track of the vehicle position even when the vehicle is transported by ferry.

The navigation system applies all location, direction, and speed information to maps and calculates a route to the destination entered. As you drive to that destination, the system provides both visual and audio guidance.

This navigation system also has voice recognition that allows voice control of most of the navigation functions. The Navigation TALK and Navigation BACK buttons on the steering wheel activate the voice control. The voice control also allows control of the audio and climate functions.

The illumination signal (dashboard brightness setting) is used by the audio-navigation unit to automatically switch the display between Night and Day brightness modes. When the gauge control module brightness control is set to max brightness, the audio-navigation system stays in the day mode, even with the headlights on. The max brightness signal is passed to the navigation unit through the F-CAN bus.






Navigation Function

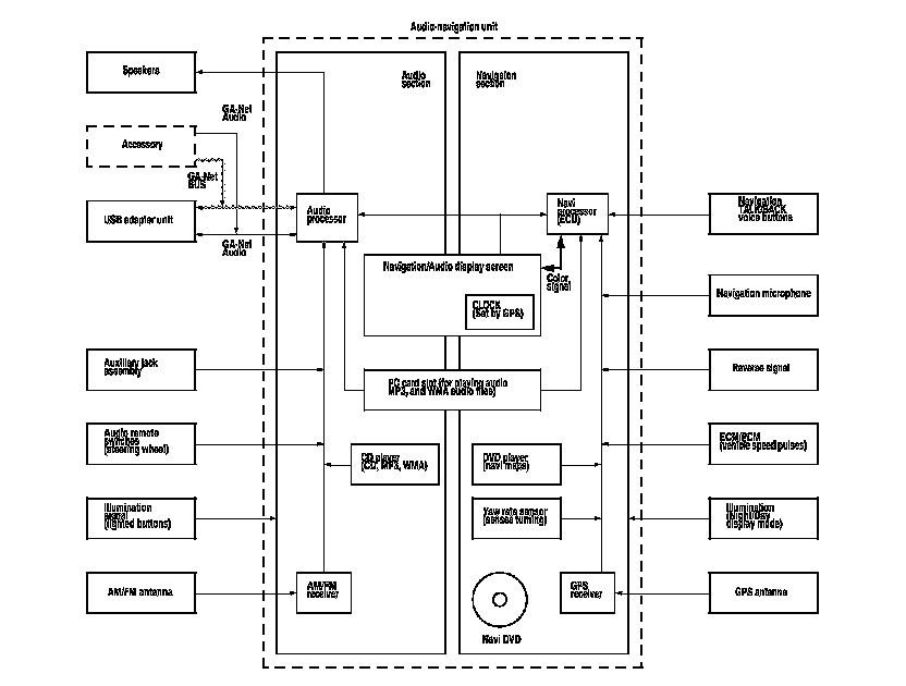
The navigation system is composed of the audio-navigation unit, the ECM/PCM (vehicle speed signal), the GPS antenna, the microphone, and the voice control switch.

The USB adapter communicates with the audio-navigation unit on the GA-Net bus.

Function Diagram





Vehicle Speed Pulse

The vehicle speed pulse is sent by the ECM/PCM. The ECM/PCM receives a signal from the countershaft speed sensor, then it processes the signal and transmits it to the speedometer and other systems.






GA-Net Bus Configuration

The GA-Net bus passes accessory and USB commands to the navigation unit.

Because the entire bus is daisy-chained between components (see diagram), any open or short in the GA-Net bus harness will cause any or all of these functions to become inoperative. The addition of any factory audio accessory must maintain the continuity of the GA-Net bus. If the accessory comes with a Y cable, make sure it is installed.






Yaw Rate-Lateral Acceleration Sensor

The yaw rate-lateral acceleration sensor (located in the audio-navigation unit) detects the direction change (angular speed) of the vehicle. The sensor is an oscillation gyro built into the audio-navigation unit.

Sensor Element Structure

The sensor element is shaped like a tuning fork, and it consists of the piezoelectric parts, the metal block, and the support pin. There are four piezoelectric parts: one to drive the oscillators, one to monitor and maintain the oscillation at a regular frequency, and two to detect angular velocity. The two oscillators, which have a 90-degree twist in the center, are connected at the bottom by the metal block and supported by the support pin. A detection piezoelectric part is attached to the top of each oscillator. The driving piezoelectric part is attached to the bottom of one oscillator, and the monitoring piezoelectric part is attached to the bottom of the other oscillator.

Oscillation Gyro Principles

The piezoelectric parts have electric/mechanical transfer characteristics. They bend vertically when voltage is applied to both sides of the parts, and voltage is generated between both sides of the piezoelectric parts when they are bent by an external force. The oscillation gyro functions by utilizing this characteristic of the piezoelectric parts and Coriolis force. (Coriolis force deflects moving objects as a result of the earth's rotation.) In the oscillation gyro, this force moves the sensor element when angular velocity is applied.

Operation

1. The driving piezoelectric part oscillates the oscillator by repeatedly bending and returning when an AC voltage of 6 kHz is applied to the part. The monitoring-side oscillator resonates because it is connected to the driving-side oscillator by the metal block.

2. The monitoring piezoelectric part bends in proportion to the oscillation and outputs voltage (the monitor signal). The audio-navigation unit control circuit controls the drive signal to stabilize the monitor signal.

3. When the vehicle is stopped, the detecting piezoelectric parts oscillate right and left with the oscillators, but no signal is output because the parts are not bent (no angular force).

4. When the vehicle turns to the right, the sensor element moves in a circular motion with the right oscillator bending forward and the left oscillator bending rearward. The amount of forward/rearward bend varies according to the angular velocity of the vehicle.

5. The detecting piezoelectric parts output voltage (the yaw rate signal) according to the amount of bend. The amount of vehicle direction change is determined by measuring this voltage.






Global Positioning System (GPS)

The global positioning system (GPS) enables the navigation system to determine the current position of the vehicle by using the signals transmitted from the satellites in orbit around the earth. The satellites transmit the satellite identification signal, orbit information, transmission time signal, and other information. When the GPS receiver receives a signal from four or more satellites simultaneously, it calculates the current position of the vehicle based on the distance to each satellite and the satellite's position in its respective orbit.

Position detection Image with GPS satellite





Precision of GPS

The precision of the GPS varies according to the number of satellites from which signals are received and the view of the sky. The accuracy is indicated by the color of the GPS icon shown on the display.





GPS Antenna

The GPS antenna amplifies and transmits the signals received from the satellites to the GPS receiver.

GPS Receiver and Clock

The GPS receiver is built into the audio-navigation unit. It calculates the vehicle position by receiving the signal from the GPS antenna. The current time, vehicle position and signal reception condition is transmitted from the GPS receiver to the navigation control unit to adjust vehicle position.

Audio-Navigation Unit

The audio-navigation unit calculates the vehicle position and guides you to the destination. The unit performs map matching correction, GPS correction, and distance tuning. It also controls the menu functions and the DVD-ROM drive, and interprets voice commands. With control of all these items, the audio-navigation unit makes the navigation picture signal, then it transmits the signal to the display panel and audio driving instructions to the audio section of the audio-navigation unit.

Calculation of Vehicle Position

The audio-navigation unit calculates the vehicle position (the driving direction and the current position) by receiving the directional change signals from the yaw rate sensor and the travel distance signals from vehicle speed pulse (VSP) signal of the ECM/PCM.

Map Matching Tuning

The map matching tuning is accomplished by indicating the vehicle position on the roads on the map. The map data transmitted from the DVD-ROM is checked against the vehicle position data, and the vehicle position is indicated on the nearest road. Map matching tuning does not occur when the vehicle travels on a road not shown on the map, or when the vehicle position is far away from a road on the map.

GPS Tuning

The GPS tuning is accomplished by indicating the vehicle position as the GPS's vehicle position. The audio-navigation unit compares its calculated vehicle position data with the GPS vehicle position data. If there is large difference between the two, the indicated vehicle position is adjusted to the GPS vehicle position.

Distance Tuning

The distance tuning reduces the difference between the travel distance signal from the VSP and the distance data on the map. The audio-navigation unit compares its calculated vehicle position data with the GPS vehicle position data. The audio-navigation unit then decreases the tuning value when the vehicle position is always ahead of the GPS vehicle position, and it increases the tuning value when the vehicle position is always behind the GPS vehicle position.

DVD-ROM

The map data (including all scale rates) is stored in the DVD-ROM. The map data includes:

- Road distances, road widths, speed limits, traffic regulations, passing time at junction, distances to junctions, and the driving instructions for audio guidance.

- Latitude and longitude GPS.

Route Guidance

The audio-navigation unit can calculate different routes to a selected destination. You have five options:

- Direct Route-Calculate a route that is the most direct.

- Easy Route-Calculate a route that minimizes the number of turns needed.

- Minimize Freeways-Calculate a route that avoids freeway travel. If that is not possible, keep the amount of freeway travel to a minimum. This is not selectable (button grayed out) for trips greater than 100 miles.

- Minimize Toll Roads-Calculate a route that avoids, or minimizes travel on toll roads. This is not selectable (button grayed out) for trips greater than 100 miles.

- Maximize Freeways-Calculate a route that uses freeways as much as possible.

Audio Guidance

The audio-navigation unit transmits audio driving instructions before entering an intersection or passing a junction. The audio instructions come through the audio unit to the front speakers.

NOTE: The front speakers are muted whenever the navigation system is giving guidance commands, and all of the speakers when the voice control system is being used.

Off Road Tracking (bread-crumbs)

Off road tracking dots that can be followed on the map retrace your route back to a mapped (digitized) road.

Clock and Time Zone

The clock set up allows you to set daylight savings time, auto time zone and time adjustment.

Audio Unit (Built in the audio-navigation unit)

The audio unit receives the audio driving instructions from the audio-navigation unit, and transmits the instructions through the front speakers even when the audio system is in use.

NOTE: If the navigation volume and/or voice feed back is turned OFF, this feature is disabled.

Navigation Display

The navigation display uses a liquid crystal display (LCD). The LCD is a 6.5-inch-diagonal, thin film transistor (TFT), stripe type with 65,536 color. The color film and fluorescent light are laid out on the back of the liquid crystal film. The touch sensor on the front of the LCD consists of a touch sensitive resistive membrane with many possible touch locations.






Microphone (Mic)

The microphone (on the ceiling, near the front map light) receives voice commands and transmits them to the audio-navigation unit for interpretation.

Navigation TALK Button

Activates the voice control system in the audio-navigation unit to accept voice commands.

Navigation BACK Button

Returns the display to the previous screen (similar function as the CANCEL button).






Glossary

The following is a glossary of terms pertaining to the voice recognition navigation system. All items may not apply to this vehicle. See the navigation system manual for more information.













Diagnostic System Diagram

This diagram below shows all of the navigation diagnostic features available for system troubleshooting. The diagram starts at the center, and works outward in layers.

Access to the diagnostic features begins by starting the vehicle. This is necessary so the system can check the other systems connected by various busses. After starting the vehicle you can enter the diagnostic mode either by pressing and holding MENU + MAP/GUIDE + CANCEL.

The main menu screen allows two checking modes - one automatic, and one manual:

- The automatic diagnostic check starts when you select SELF DIAGNOSTIC MODE. The system runs for several seconds, and reports any issues with Red icons. Use the joystick or touchscreen and select the icon you wish to obtain the problem details.

- The manual diagnostic check is selected from the main menu by selecting DETAIL INFORMATION AND SETTING. The traditional diagnostic menu is displayed. This allows you to obtain additional details as instructed in the troubleshooting procedures.

NOTE: Do not clear or by the factory. Otherwise, you may accidentally delete customer information, or remove the latest flash software version installed by the factory.






Navigation System Connector Location

NOTE: Refer to the audio section for the connector B, E, and G input and outputs. Description and Operation






Audio-navigation Unit Inputs and Outputs for Connector A (24P)






Audio-navigation Unit Connector A (24P)





Audio-navigation Unit Inputs and Outputs for Connector C (8P)






Audio-navigation Unit Connector C (8P)





Audio-navigation Unit Inputs and Outputs for Connector D (12P)






Audio-navigation Unit Connector D (12P)





Audio-navigation Unit Inputs and Outputs for Connector H (2P)






Audio-navigation Unit Connector H (2P)