Curiosii for ever!: Car repair manuals for everyone.

Tightening Torque and Sequences

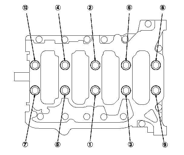
Cylinder Head Torque and Sequence


Tighten the cylinder head bolts in sequence to 39 N-m (4.0 kgf-m, 29 lbf-ft).






After torquing, tighten all cylinder head bolts in two steps (90 ° using the sequence. If you are using a new cylinder head bolt, tighten the bolt an extra 90 °.


Head Bolt Reuse/Replace






The minimum diameter for each cylinder head bolt at point A and point B is 10.6 mm (0.42 in.).






Intake Manifold






Camshaft Bearing/Camshaft Holder Torque

Tighten the bolts to the specified torque.
NOTE: If the engine does not have bolt 21, skip it and continue the torque sequence.














Main Bearing Cap Torque and Sequence

Tighten the bearing cap bolts, in sequence, to 29 N-m (3.0 kgf-m, 22 lbf-ft).






Tighten the bearing cap bolts an additional 56 °.






Tighten the 8 mm bolts, in sequence, to 22 N-m (2.2 kgf-m, 16 lbf-ft).






Rod Bearing Cap Torque

Tighten the connecting rod bolts to 29 N-m (3.0 kgf-m, 22 lbf-ft).






Tighten the connecting rod bolts an additional 90 °.






Crankshaft Pulley Torque

Tighten the bolt to 49 N-m (5.0 kgf-m, 36 lbf-ft).
If the pulley bolt or crankshaft are new, tighten the bolt to 177 N-m (18.0 kgf-m, 130 lbf-ft), then remove the bolt and tighten it to 49 N-m (5.0 kgf-m, 36 lbf-ft).
Then tighten the bolt an additional 90 °.






Flywheel Torque

Torque the flywheel mounting bolts in a crisscross pattern in several steps.






Engine Oil Pump Torque






Exhaust Manifold Torque






Water Pump Torque