Curiosii for ever!: Car repair manuals for everyone.

Tightening Torque and Sequences


Main Bearing Cap Torque and Sequence

Tighten the bearing cap bolts, in sequence, to 29 N-m (3.0 kgf-m, 22 lbf-ft).






Tighten the bearing cap bolts an additional 56 °.






Tighten the 8 mm bolts, in sequence, to 22 N-m (2.2 kgf-m, 16 lbf-ft).






Main Bearing Selection





Crankshaft Bore Code Location









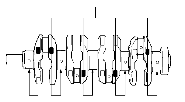
Main Journal Code Location






Replacement Bearing Table


Rod Bearing Cap Torque


Tighten the connecting rod bolts to 29 N-m (3.0 kgf-m, 22 lbf-ft).






Tighten the connecting rod bolts an additional 90 °.






Connecting Rod Bolt Reusability

Difference in diameter between point A and point B.










Crankshaft Pulley Torque

Tighten the bolt to 49 N-m (5.0 kgf-m, 36 lbf-ft).
If the pulley bolt or crankshaft are new, tighten the bolt to 177 N-m (18.0 kgf-m, 130 lbf-ft), then remove the bolt and tighten it to 49 N-m (5.0 kgf-m, 36 lbf-ft).
Then tighten the bolt an additional 90 °.