Curiosii for ever!: Car repair manuals for everyone.

Tire Pressure Module: Service and Repair




TPMS Control Unit Replacement

NOTE: Make sure the TPMS control unit mounting bracket is not bent or twisted as this may affect its communication with the tire pressure sensors.

1. Turn the ignition switch to LOCK (0).

2. Remove the driver's dashboard undercover. Drivers Dashboard Undercover Removal/Installation

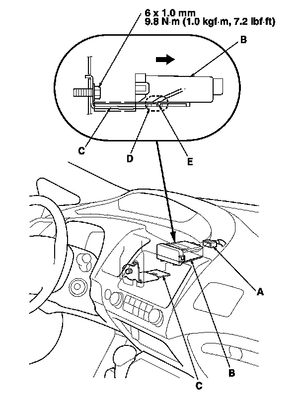
3. Disconnect the TPMS control unit connector (A).

4. Remove the TPMS control unit (B) from the bracket (C).
NOTE: While separating the TPMS control unit from the bracket, add in a flat-tipped screwdriver between the TPMS control unit and the bracket at shown aria (D) to release the hook (E), and slide out the TPMS control unit from the bracket.

5. Replace the bracket if necessary.

6. Install the new TPMS control unit in the reverse order of removal.
NOTE: Make sure the TPMS control unit is properly installed. You will hear a click when the TPMS control unit is securely mounted on the bracket.

7. Connect the HDS, and memorize the pressure sensor IDs using the TPMS sensor initializer tool. Memorizing the Tire Pressure Sensor ID