Curiosii for ever!: Car repair manuals for everyone.

Engine Installation




Engine Installation

Special Tools Required

- Universal lifting eyelet 07AAK-SNAA120
- Engine hanger adapter VSB02C000015*
- Engine support hanger, A and Reds AAR-T1256*
- 2006 Civic engine hanger VSB02C000025*
- Front subframe adapter VSB02C000016*
*: These special tools are available through Honda Tool and Equipment Program.

1. Install the engine mount brackets and the accessory brackets, then tighten their bolts to the specified torque.






2. Raise the vehicle on the lift, and position the engine/transmission under the vehicle. Lower the vehicle, and install the universal lifting eyelet (07AAK-SNAA120). Attach a chain hoist to the universal lifting eyelet and the transmission hook, then lift the engine into position in the vehicle.
NOTE: Reinstall the mounting bolts/support nuts in the sequence given in the following steps. Failure to follow this sequence may cause excessive noise and vibration, and reduce engine mount life.






3. Attach the engine hanger adapter (VSB02C000015) to the threaded hole in the cylinder head.






4. Install the front leg assembly (A), the hook (B), and the wing nut (C) to an A and Reds engine support hanger (AAR-T1256) onto the 2006 civic engine hanger (VSB02C000025). Carefully position the engine hanger on the vehicle, and attach the hook to the forward hole in the engine hanger adapter (D). Tighten the wing nut by hand to lift and support the engine/transmission.
NOTE: Be careful when working around the windshield.






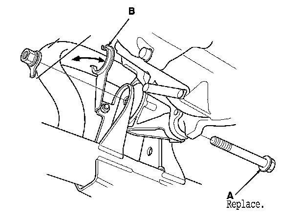
5. Loosen the upper torque rod mounting bolt (A).






6. Tighten the new side engine mount bracket mounting bolt and nut.






7. Tighten the new transmission mounting bolt and nuts.

8. Remove the chain hoist.






9. Remove the universal lifting eyelet.

10. Raise the vehicle on the lift.






11. Attach the front subframe adapter (VSB02C000016) to the front subframe, and hang the belt (A) of the front subframe adapter over the front of the subframe (B). Secure the belt with its stop (C), then tighten the wing nut (D).

12. Line up the slots in the front subframe adapter arms with the bolt holes on the corner of the jack base, then securely attach them with four bolts. Lift the front subframe up to the body.






13. Loosely install the new front subframe mounting bolts.






14. Align all reference marks (A) on the front subframe (B) with the edges of the body (C), then tighten the bolts on the front subframe to the specified torque.

15. Remove the jack and the front subframe adapter.






16. Tighten the new mid-stiffener mounting bolts on both side.






17. Install the lower torque rod, then tighten the new lower torque rod mounting bolts in the numbered sequence shown.






18. Loosely tighten the new front mount mounting bolt (A), then install the lower radiator hose to the clamp (B).

19. Lower the vehicle on the lift.

20. Remove the engine support hanger, the engine hanger, and the engine hanger adapter from the engine and vehicle.






21. Tighten the upper torque rod mounting bolt.

22. Raise the vehicle on the lift.






23. Tighten the front mount mounting bolt.






24. Install the A/C compressor (A), then connect the A/C compressor clutch connector (B).






25. Install the stiffener (A), then tighten the steering gearbox mounting bolt (B) and the stiffener mounting bolt (C).

26. Install the harness clamp (D) to the subframe.






27. Install the steering gearbox bracket (A).

28. Install the stiffener (B), then tighten the steering gearbox mounting bolt (C) and the stiffener mounting bolt (D).

29. Install a new set ring on the end of each driveshaft, then install the driveshafts. Driveshaft Installation Make sure each ring "clicks" into place in the differential and the intermediate shaft.

30. Connect the lower arms to the knuckles. Front Lower Arm Removal/Installation

31. Connect the stabilizer links. Front Stabilizer Link Removal/Installation






32. Install the three way catalytic converter (TWC) (A). Use new gaskets (B) and new self-locking nuts (C).

33. Connect the air fuel ratio (A/F) sensor connector (D).

34. Connect the secondary heated oxygen sensor (secondary HO2S) connector (E), then install the grommet (F).






35. Install the splash shield.

36. Lower the vehicle on the lift.






37. Connect the heater hoses.

38. Install the radiator. Service and Repair

39. Install the idler pulley base. Drive Belt Auto-Tensioner Removal/Installation

40. Install the drive belt. Drive Belt Removal/Installation






41. Install the air cleaner bracket.

42. Install the shift cable. Manual Transmission Installation

43. Install the clutch slave cylinder and the clutch line bracket mounting bolt. Manual Transmission Installation






44. Connect the fuel feed hose (A), Fuel Line/Quick-Connect Fitting Installation then install the quick-connect fitting cover (B).






45. Connect the evaporative emission (EVAP) canister hose (A) and the brake booster vacuum hose (B).






46. Install the engine cover.






47. Connect the engine control module (ECM) connectors (A) and engine wire harness connector (B).

48. Install the harness clamps (C).






49. Install the ECM (A), then install the ECM cover (B).






50. Connect the battery cables (A) to the under-hood fuse/relay box.

51. Install the harness clamp (B).






52. Install the pipe (A).

53. Connect the connector (B), and install the harness clamps (C).

54. Install the under-cowl panel. Service and Repair

55. Install the intake air duct. Service and Repair

56. Install the air cleaner assembly. Service and Repair

57. Install the front wheels.

58. Do the battery installation procedure. Removal and Replacement

59. Inspect for fuel leaks. Turn the ignition switch to ON (II) (do not operate the starter) so the fuel pump runs for about 2 seconds and pressurizes the fuel line. Repeat this operation three times, then check for fuel leakage at any point in the fuel line.

60. Refill the engine with the recommended engine oil. Service and Repair

61. Refill the transmission with fluid. MTF Inspection and Replacement

62. Check that the transmission shifts into gears smoothly.

63. Refill the radiator with engine coolant, and bleed the air from the cooling system with the heater valve open. Service and Repair

64. Do the ECM reset procedure. Initial Inspection and Diagnostic Overview

65. Do the ECM idle lean procedure. ECM Idle Learn Procedure

66. Do the crankshaft position (CKP) pattern clear/CKP pattern learn procedure. Initial Inspection and Diagnostic Overview

67. Inspect the idle speed. Testing and Inspection

68. Inspect the ignition timing. Testing and Inspection

69. Check the wheel alignment. Service and Repair