Curiosii for ever!: Car repair manuals for everyone.

Intake Manifold: Service and Repair




Intake Manifold Removal and Installation

Exploded View





Removal

1. Remove the engine cover.

2. Relieve the fuel pressure. Service and Repair






3. Disconnect the vacuum hose (A) and the breather pipe (B), then remove the intake air duct (C).

4. Disconnect the following engine wire harness connectors, and remove the wire harness clamps from the intake manifold:
- Four fuel injector connectors

- Manifold absolute pressure (MAP) sensor connector

- Throttle actuator connector





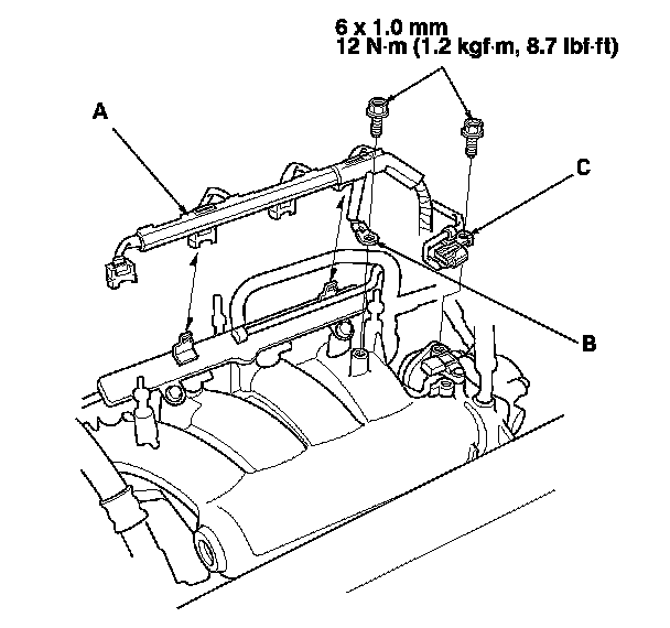
5. Remove the ground cable (A) and the harness clamp bracket (B), then remove the harness holder (C) from the bracket.






6. Disconnect the positive crankcase ventilation (PCV) hose (A), the evaporative emission (EVAP) canister hose (B), and the brake booster vacuum hose (C).






7. Disconnect the water bypass hoses (A), then plug the water bypass hoses.






8. Remove the quick-connect fitting cover (A), then disconnect the fuel feed hose (B). Fuel Line/Quick-Connect Fitting Removal

9. Raise the vehicle on the lift.

10. Remove the splash shield. Engine Removal






11. Remove the connector (A) from the intake manifold bracket (B), then remove the intake manifold bracket.

12. Lower the vehicle on the lift.






13. Remove the intake manifold (A) from the cylinder head, then disconnect the water bypass hose (B).






Installation

1. Connect the water bypass hose (A) to the intake manifold (B), then install the intake manifold with a new gasket (C), and tighten the bolts and the nuts in a crisscross pattern in three steps, beginning with the inner bolt.

2. Raise the vehicle on the lift.






3. Install the intake manifold bracket (A), then install the connector (B) to the intake manifold bracket.

4. Install the splash shield. Engine Installation

5. Lower the vehicle on the lift.






6. Connect the fuel feed hose (A), Fuel Line/Quick-Connect Fitting Installation then install the quick-connect fitting cover (B).






7. Connect the water bypass hoses (A).






8. Connect the positive crankcase ventilation (PCV) hose (A), the evaporative emission (EVAP) canister hose (B), and the brake booster vacuum hose (C).






9. Install the harness holder (A) to the bracket, then install the ground cable (B) and the harness clamp bracket (C).

10. Connect the following engine wire harness connectors, and install the wire harness clamps to the intake manifold:
- Four fuel injector connectors

- Manifold absolute pressure (MAP) sensor connector

- Throttle actuator connector





11. Install the intake air duct (A), then connect the vacuum hose (B) and breather pipe (C).






12. Install the engine cover.

13. Inspect for fuel leaks. Turn the ignition switch to ON (II) (do not operate the starter) so the fuel pump runs for about 2 seconds and pressurizes the fuel line. Repeat this operation three times, then check for fuel leakage at any point in the fuel line.

14. After installation, check that all tubes, hoses, and connectors are installed correctly.

15. Clean up any spilled engine coolant.

16. Refill the radiator with engine coolant, and bleed the air from the cooling system with the heater valve open. Service and Repair