Curiosii for ever!: Car repair manuals for everyone.

Power Relay Test




Power Relay Test

Special Tools Required

- Relay puller 07AAC-000A1A0
Use this chart to identify the type of relay, then do the test listed for it. Carefully remove the relay using the relay puller. Do not use pliers. Pliers will damage the relay.










Normally-open type

Check for continuity between the terminals.

- There should be continuity between terminals No. 1 and No. 2 when the battery positive terminal is connected to terminal No. 4, and the battery negative terminal is connected to terminal No. 3.

- There should be continuity between terminals No. 1 and No. 2 when power is disconnected.









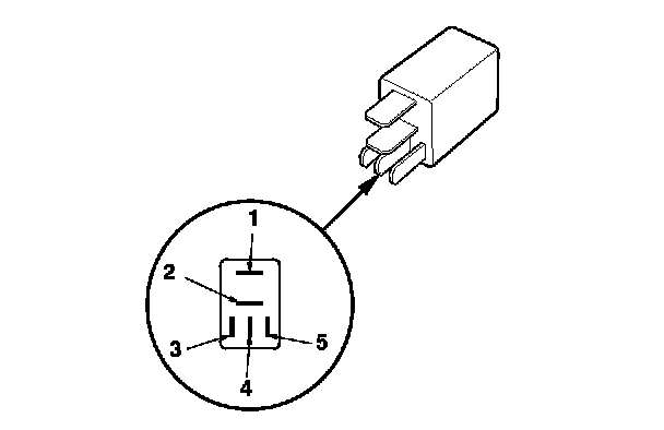
Five-terminal type

Check for continuity between the terminals.

- There should be continuity between terminals No. 1 and No. 2 when the battery positive terminal is connected to terminal No. 5, and the battery negative terminal is connected to terminal No. 3.

- There should be continuity between terminals No. 1 and No. 4 when power is disconnected.