Curiosii for ever!: Car repair manuals for everyone.

A/T Pressure Test




A/T Pressure Test

Special Tools Required

- A/T oil pressure gauge set 07406-0020401
- A/T pressure hose, 2,210 mm 07MAJ-PY4011A
- A/T pressure adapter 07MAJ-PY40120

NOTE:

- Disable the VSA by pressing the VSA OFF switch (if equipped).

- VSA DTC(s) may come on during the pressure test. If the VSA DTC(s) come on, clear the DTC(s) with the HDS.

1. Make sure the transmission fluid is filled to the proper level. Procedures

2. Raise the vehicle on a lift, or apply the parking brake, block rear wheels, and raise the front of the vehicle. Make sure it is securely supported.

3. Allow the front wheels to rotate freely.

4. Remove the splash shield.

5. Connect the HDS to the DLC (A) located under the driver's side of the dashboard.

6. Turn the ignition switch to ON (II), and go to the A/T Data List. Make sure the HDS communicates with the PCM. If it does not, go to the DLC circuit troubleshooting. Testing and Inspection






7. Connect the A/T oil pressure gauge to the line pressure inspection port (A). Do not allow dust or other foreign particles to enter the ports while connecting the gauges.

8. Start the engine, and warm it up to normal operating temperature (the radiator fan comes on).

9. Measure the line pressure at the line pressure inspection port in P or N while holding the engine speed at 2,000 rpm.
NOTE: Higher pressure may be indicated if measurements are made in shift lever position other than P or N.





10. Turn the engine off, then disconnect the A/T oil pressure gauge from the line pressure inspection port.

11. Install the sealing bolt to the line pressure inspection port with a new sealing washer, and tighten the bolt to 18 N-m (1.8 kgf-m, 13 lbf-ft). Do not reuse the old sealing washer.

12. Remove the air cleaner assembly Service and Repair and the intake air duct.











13. Connect the A/T oil pressure gauge to the 1st clutch pressure inspection port (B). Then temporarily install the air cleaner assembly and the intake air duct.






14. Connect the A/T oil pressure gauge to the 2nd clutch pressure inspection port (C).

15. Start the engine, and shift to 1.

16. Measure the 1st clutch pressure at the 1st clutch pressure inspection port (B) while holding the engine speed at 2,000 rpm.

17. Shift to 2, and measure the 2nd clutch pressure at the 2nd clutch pressure inspection port (C) while holding the engine speed at 2,000 rpm.





18. Turn the engine off, remove the air cleaner assembly and the intake air duct, then disconnect the A/T oil pressure gauges from the 1st and 2nd clutch pressure inspection ports.

19. Install the sealing bolts to the 1st and 2nd clutch pressure inspection ports with new sealing washers, and tighten the bolts to 18 N-m (1.8 kgf-m, 13 lbf-ft). Do not reuse the old sealing washer.

20. Install the intake air duct and the air cleaner assembly. Service and Repair






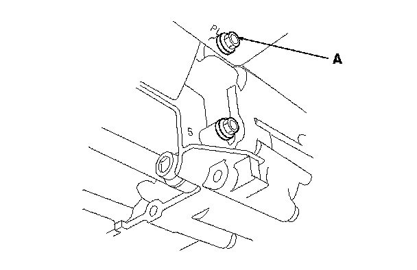
21. Connect the A/T oil pressure gauge to the 3rd clutch pressure inspection port (D) and the 4th clutch pressure inspection port (E).






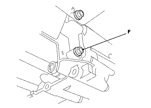
22. Connect the A/T oil pressure gauge to the 5th clutch pressure inspection port (F).

23. Select Pressure Test Assistance Mode in the Miscellaneous Test Menu of the A/T Mode Menu.

24. Start the engine, and shift to D3.

25. Measure the 3rd clutch pressure at the 3rd clutch pressure inspection port (D) while holding the engine speed at 2,000 rpm.

26. Shift to D, and measure the 4th clutch pressure at the 4th clutch pressure inspection port (E) and the 5th clutch pressure at the 5th clutch pressure inspection port (F) while holding the engine speed at 2,000 rpm.





27. Bring the engine back to an idle, then apply the brake to stop the wheels from rotating.

28. Shift to R, then release the brake pedal. Measure the 5th clutch pressure at the 5th clutch pressure inspection port (F) while holding the engine speed at 2,000 rpm.





29. Turn the engine off, then disconnect the A/T oil pressure gauge from the 3rd, 4th, and 5th clutch pressure inspection ports.

30. Install the sealing bolts in the 3rd, 4th, and 5th clutch pressure inspection ports with new sealing washers, and tighten the bolts to 18 N-m (1.8 kgf-m, 13 lbf-ft). Do not reuse the old sealing washer.

31. If the pressures are out of the service limit, problems and probable causes are listed in the table.





32. Install the splash shield.

33. Check the ATF level. Procedures