Curiosii for ever!: Car repair manuals for everyone.

Brake Fluid Level Sensor/Switch: Testing and Inspection




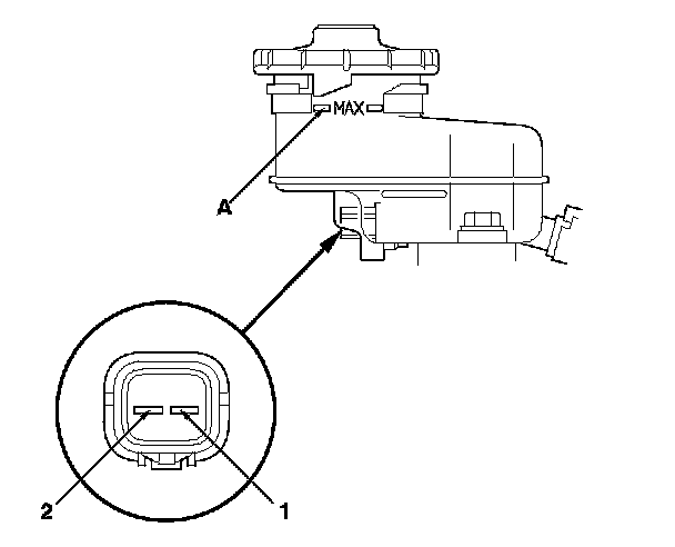
Brake Fluid Level Switch Test

1. Disconnect the brake fluid level switch connector.

2. Check for continuity between the terminals (1) and (2) with the float in the down position and in the up position.
NOTE:

- Remove the brake fluid completely from the reservoir. With the float down, there should be continuity.

- Fill the reservoir with brake fluid to the MAX (upper) level (A). With the float up, there should be no continuity.

- If both the ABS indicator and the brake system indicator come on at the same time, check the ABS or VSA system for DTC's first: ABS, How To Troubleshoot The ABS (Without VSA) VSA. How To Troubleshoot The VSA System (With VSA)

- If the parking brake switch and brake fluid level switch are OK, but brake system indicator does not function, do the gauge control module self-diagnostic function. Initial Inspection and Diagnostic Overview

3. Reconnect the brake fluid level switch connector.