Data Link Connector: Testing and Inspection
DLC Circuit Troubleshooting
NOTE: Make sure the HDS and the HDS DLC cable are not defective.
1. Turn the ignition switch to LOCK (0).
2. Connect the HDS to the DLC. Initial Inspection and Diagnostic Overview
NOTE: Make sure the HDS is properly connected to the DLC.
3. Turn the ignition switch to ON (II), and turn on the HDS.
Does the HDS identify the vehicle?
YES - Go to step 4.
NO - Go to step 27.
4. Check for Temporary DTCs or DTCs in the PGM-FI system with the HDS.
Are any Temporary DTCs or DTCs indicated?
YES - Go to the indicated DTC's troubleshooting.
NO - Go to step 5.
5. Turn the ignition switch to LOCK (0).
6. Turn the ignition switch to ON (II), and watch the SRS indicator.
Does the SRS indicator stay on?
YES - Go to the SRS general troubleshooting information. Initial Inspection and Diagnostic Overview
NO -
- With VSA system: Go to step 7.
- With ABS: Go to step 9.
7. Turn the ignition switch to LOCK (0).
8. Turn the ignition switch to ON (II), and watch the VSA indicator.
Does the VSA indicator stay on?
YES - Go to the VSA system's general troubleshooting information. Initial Inspection and Diagnostic Overview
NO - Go to step 11.
9. Turn the ignition switch to LOCK (0).
10. Turn the ignition switch to ON (II), and watch the ABS indicator.
Does the ABS indicator stay on?
YES - Go to the ABS general troubleshooting information.
NO - Go to step 11.
11. Turn the ignition switch to LOCK (0).
12. Start the engine, and watch the EPS indicator.
Does the EPS indicator stay on?
YES - Go to the EPS system's general troubleshooting information. Initial Inspection and Diagnostic Overview
NO - Go to step 11.
13. Turn the ignition switch to LOCK (0).
14. Turn the ignition switch to ON (II), and watch the AHB (advanced hydraulic booster) indicator.
Does the AHB indicator stay on?
YES - Go to the AHB system's general troubleshooting information. Initial Inspection and Diagnostic Overview
NO - Go to step 15.
15. Turn the ignition switch to LOCK (0).
16. Turn the ignition switch to ON (II), and watch the immobilizer indicator.
Does the immobilizer indicator stay on or flash?
YES - Go to the immobilizer system's troubleshooting. Description and Operation
NO -
- With TPMS: Go to step 17.
- Without TPMS: Go to step 19.
17. Turn the ignition switch to LOCK (0).
18. Turn the ignition switch to ON (II), and watch the TPMS indicator.
Does the TPMS indicator stay on?
YES - Go to the TPMS system's general troubleshooting. Initial Inspection and Diagnostic Overview
NO - Go to step 19.
19. Do the gauge self-diagnostic function. Initial Inspection and Diagnostic Overview
20. Check for B-CAN system DTCs without the HDS. Initial Inspection and Diagnostic Overview
Are any B-CAN DTCs indicated?
YES - Go to the indicated DTC's troubleshooting.
NO - Go to step 21.
21. Turn the ignition switch to LOCK (0).
22. Disconnect the HDS from the DLC.
23. Check for continuity between DLC terminal No. 7 and body ground.
Is there continuity?
YES - Go to step 24.
NO - Go to step 25.
24. Continue to check for continuity between DLC terminal No. 7 and body ground, while disconnecting these parts, one at a time:
- SRS unit connector A (28P)
- VSA modulator-control unit 37P connector (with VSA)
- ABS modulator-control unit 25P connector (with ABS)
- EPS control unit connector D (28P)
- Servo unit 25P connector
- Immobilizer-keyless control unit 7P connector
- TPMS control unit 20P connector (with TPMS)
- Audio unit 17P connector
- Under-dash fuse/relay box Q (16P) connector
Does continuity go away when one of the above components is disconnected?
YES - Replace the part that caused an open when it was disconnected.
NO - Repair short in the wire between the DLC (K-line) and the VSA modulator-control unit, or the ABS modulator-control unit, the EPS control unit, the servo unit, the SRS unit, the immobilizer-keyless control unit, the TPMS control unit (with TPMS), the audio unit, or the under-dash fuse/relay box.
25. Connect DLC terminal No. 7 to body ground with a jumper wire.
26. Check for continuity between body ground and these connector terminals:
Is there continuity between the body ground and each of the terminals in the chart?
YES - Replace the part that does not communicate with the HDS.
NO - Repair open in the wire between the DLC (K-line) and the appropriate connector.
27. Do the gauge self-diagnostic function. Initial Inspection and Diagnostic Overview
28. Check for B-CAN system DTCs without the HDS. Initial Inspection and Diagnostic Overview
Is DTC B1168, B1169, and/or B1178 indicated?
YES - Go to step 41.
NO - Go to step 29.
29. Turn the ignition switch to LOCK (0).
30. Disconnect the HDS from the DLC.
31. Measure the voltage between DLC terminal No. 16 and body ground.
Is there battery voltage?
YES - Go to step 32.
NO - Repair open in the wire between DLC terminal No. 16 and the No. 23 BACK UP (10 A) fuse in the under-hood fuse/relay box.
32. Measure the voltage between DLC terminals No. 4 and No. 16.
Is there battery voltage?
YES - Go to step 33.
NO - Repair open in the wire between DLC terminal No 4 and G502.. Dashboard Wire Harness (View From Front Passenger's Side) Connector And Harness Locations
33. Connect the HDS to the DLC. Initial Inspection and Diagnostic Overview
34. Jump the SCS line with the HDS.
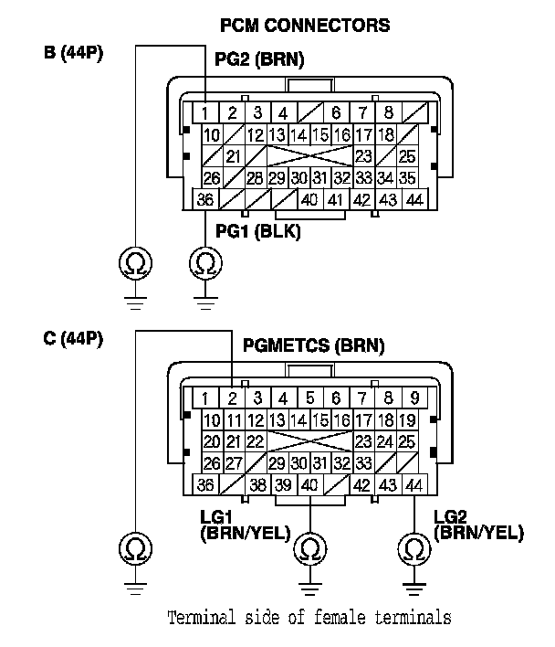
35. Disconnect PCM connector A (44P).
36. Disconnect the HDS from the DLC.
37. Connect DLC terminal No. 6 to body ground with a jumper wire.
38. Check for continuity between PCM connector terminal A36 and body ground.
Is there continuity?
YES - Go to step 39.
NO - Repair open in the wire between the PCM (A36) and DLC terminal No. 6.
39. Connect DLC terminal No. 14 to body ground with a jumper wire.
40. Check for continuity between PCM connector terminal A37 and body ground.
Is there continuity?
YES - Update the PCM if it does not have the latest software, PCM Update or substitute a known-good PCM, Initial Inspection and Diagnostic Overview then recheck. If the symptom/indication goes away with a known-good PCM, replace the original PCM. Service and Repair
NO - Repair open in the wire between the PCM (A37) and DLC terminal No. 14.
41. Try to start the engine.
Does the engine start and idle smoothly?
YES - Go to F-CAN circuit troubleshooting. F-CAN Circuit Troubleshooting - Part 1
NO - Go to step 40.
42. Turn the ignition switch to LOCK (0).
43. Check the No. 2 IG MAIN (50 A) fuse in the under-hood fuse/relay box.
Is the fuse OK?
YES - Repair open in the wire between the No. 2 IG MAIN (50 A) fuse and the ignition switch. If the wire is OK, go to step 44.
NO - Repair short in the wire between the No. 2 IG MAIN (50 A) fuse and the under-hood fuse/relay box. Also replace the No. 2 IG MAIN (50 A) fuse.
44. Inspect the No. 19 FI MAIN (15 A) fuse in the under-hood fuse/relay box.
Is the fuse OK?
YES - Go to step 51.
NO - Go to step 45.
45. Remove the blown No. 19 FI MAIN (15 A) fuse from the under-hood fuse/relay box.
46. Remove PGM-FI main relay 1 (C) from the under-hood fuse/relay box.
47. Check for continuity between body ground and PGM-FI main relay 1 4P connector terminals No. 1 and No. 3 individually.
Is there continuity?
YES - Replace the under-hood fuse/relay box. Under-Hood Fuse/Relay Box Removal and Installation Also replace the No. 19 FI MAIN (15 A) fuse.
NO - Go to step 48.
48. Disconnect each of the parts or connectors below, one at a time, and check for continuity between PGM-FI main relay 1 4P connector terminal No. 2 and body ground.
- PGM-FI main relay 2
- PCM connector A (44P)
- Each injector 2P connector
- Camshaft position (CMP) sensor 3P connector
- Crankshaft position (CKP) sensor 3P connector
- Ignition coil relay
- Electronic throttle control system (ETCS) control relay
Does continuity go away when one of the above components is disconnected?
YES - Replace the part that made the short to body ground go away when it was disconnected. If the part is the PCM, update the PCM if it does not have the latest software, PCM Update or substitute a known-good PCM, Initial Inspection and Diagnostic Overview then recheck. If the symptom/indication goes away with a known-good PCM, replace the original PCM. Service and Repair Also replace the No. 19 FI MAIN (15 A) fuse.
NO - Go to step 49.
49. Disconnect the connectors from these part;
- PGM-FI main relay 2
- PCM connector A (44P)
- Injectors
- Camshaft position (CMP) sensor
- Crankshaft position (CKP) sensor
- Ignition coil relay
- Electronic throttle control system (ETCS) control relay
50. Check for continuity between PGM-FI main relay 1 4P connector terminal No. 2 and body ground.
Is there continuity?
YES - Repair short in the wire between PGM-FI main relay 1 and each part. Also replace the No. 19 FI MAIN (15 A) fuse.
NO - Replace PGM-FI main relay 1. Also replace the No. 19 FI MAIN (15 A) fuse.
51. Inspect the No. 2 FUEL PUMP (15 A) fuse in the under-dash fuse/relay box.
Is the fuse OK?
YES - Go to step 60.
NO - Go to step 52.
52. Remove the blown No. 2 FUEL PUMP (15 A) fuse from the under-dash fuse/relay box.
53. Remove PGM-FI main relay 2 (A) from the auxiliary under-hood fuse/relay box.
54. Test PGM-FI main relay 2 (FUEL PUMP). Testing and Inspection
Is the relay OK?
YES - Go to step 55.
NO - Replace PGM-FI main relay 2 (FUEL PUMP). Also replace the No. 2 FUEL PUMP (15 A) fuse.
55. Check for continuity between PGM-FI main relay 2 (FUEL PUMP) 4P connector terminal No. 2 and body ground.
Is there continuity?
YES - Go to step 56.
NO - Go to step 58.
56. Jump the SCS line with the HDS, then disconnect PCM connectors C (44P).
57. Check for continuity between PCM connector terminal C36 and body ground.
Is there continuity?
YES - Repair short in the wire between the No. 2 FUEL PUMP (15 A) fuse and the PCM (C36), between the No. 2 FUEL PUMP (15 A) fuse and PGM-FI main relay 2, or between the No. 2 FUEL PUMP (15 A) fuse and the immobilizer control unit. Also replace the No. 2 FUEL PUMP (15 A) fuse.
NO - Replace the No. 2 FUEL PUMP (15 A) fuse, and update the PCM if it does not have the latest software, PCM Update or substitute a known-good PCM, Initial Inspection and Diagnostic Overview then recheck. If the symptom/indication goes away with a known-good PCM, replace the original PCM. Service and Repair
58. Disconnect the fuel unit subharness 4P connector.
59. Check for continuity between floor harness C651 4P connector terminal No. 3 and body ground.
Is there continuity?
YES -
- Repair short in the wire between the fuel unit subharness and PGM-FI main relay 2. Also replace the No. 2 FUEL PUMP (15 A) fuse.
- Check the fuel unit subharness, Testing and Inspection and repair it if needed.
NO -
- Check the fuel pump, and replace it if needed. Fuel Pump/Fuel Gauge Sending Unit Replacement Also replace the No. 2 FUEL PUMP (15 A) fuse.
- Check the fuel unit subharness, Testing and Inspection and repair it if needed. Also replace the No. 2 FUEL PUMP (15 A) fuse.
60. Jump the SCS line with the HDS.
61. Disconnect PCM connectors A (44P) and C (44P).
62. Turn the ignition switch to ON (II).
63. Measure the voltage between PCM connector terminal C36 and body ground.
Is there battery voltage?
YES - Go to step 64.
NO - Repair open in the wire between the No. 2 FUEL PUMP (15 A) fuse and the PCM (C36).
64. Measure the voltage between PCM connector terminal A6 and body ground.
Is there battery voltage?
YES - Go to step 69.
NO - Go to step 65.
65. Turn the ignition switch to LOCK (0).
66. Remove PGM-FI main relay 1 (C) from the under-hood fuse/relay box.
67. Measure the voltage between PGM-FI main relay 1 4P connector terminal No. 3 and body ground.
Is there battery voltage?
YES - Go to step 68.
NO - Replace the under-hood fuse/relay box. Under-Hood Fuse/Relay Box Removal and Installation
68. Check for continuity between PGM-FI main relay 1 4P connector terminal No. 4 and PCM connector terminal A6.
Is there continuity?
YES - Test PGM-FI main relay 1. Testing and Inspection If the relay is OK, update the PCM if it does not have the latest software, PCM Update or substitute a known-good PCM, Initial Inspection and Diagnostic Overview then recheck. If the symptom/indication goes away with a known-good PCM, replace the original PCM. Service and Repair
NO - Repair open in the wire between the PCM (A6) and PGM-FI main relay 1.
69. Turn the ignition switch to LOCK (0).
70. Remove PGM-FI main relay 1 (C) from the under-hood fuse/relay box.
71. Measure the voltage between PGM-FI main relay 1 4P connector terminal No. 1 and body ground.
Is there battery voltage?
YES - Go to step 72.
NO - Replace the under-hood fuse/relay box. Under-Hood Fuse/Relay Box Removal and Installation
72. Check for continuity between PGM-FI main relay 1 4P connector terminal No. 2 and PCM connector terminal A8 and A43 individually.
Is there continuity?
YES - Go to step 73.
NO - Repair open in the wire between the PCM (A8,A43) and PGM-FI main relay 1.
73. Test PGM-FI main relay 1. Testing and Inspection
Is PGM-FI main relay 1 OK?
YES - Go to step 74.
NO - Replace PGM-FI main relay 1.
74. Disconnect PCM connector B (44P).
75. Check for continuity between body ground and PCM connector terminals B1, B36, C2, C40, and C44 individually.
Is there continuity?
YES - Go to step 76.
NO - Repair open in the wire between the PCM (B1, B36, C2, C40, C44) and G102. Engine Wire Harness Connector and Harness Locations
76. Check for continuity between PCM connector terminal C13 and body ground.
Is there continuity?
YES - Go to step 77.
NO - Go to step 78.
77. Continue to check for continuity between PCM connector terminal C13 and body ground, while disconnecting these connectors, one at a time:
- MAP sensor 3P connector
- Output shaft (driven pulley) speed sensor 3P connector
- CVT speed sensor 3P connector ('06 model)
Does continuity go away when one of the above connectors is disconnected?
YES - Replace the part that caused an open when it was disconnected.
NO - Repair short in the wire between the PCM (C13) and the MAP sensor, the output shaft (driven pulley) speed sensor or CVT speed sensor ('06 model).
78. Check for continuity between PCM connector terminal B18 and body ground.
Is there continuity?
YES - Go to step 79.
NO - Go to step 80.
79. Continue to check for continuity between PCM connector terminal B18 and body ground, while disconnecting these parts, one at a time:
- Rocker arm oil pressure sensor 3P connector
- EGR valve 6P connector
- Input shaft (drive pulley) speed sensor 3P connector
- CVT speed sensor (secondary) 3P connector ('06 model)
- CVT speed sensor 3P connector ('07-09 models)
Does continuity go away when one of the above parts is disconnected?
YES - Replace the part that caused an open when it was disconnected.
NO - Repair short in the wire between the PCM (B18) and the rocker arm oil pressure sensor, the EGR valve, the input shaft (drive pulley) speed sensor, CVT speed sensor (secondary) ('06 model), or CVT speed sensor ('07-09 models).
80. Check for continuity between PCM connector terminal C12 and body ground.
Is there continuity?
YES - Go to step 81.
NO - Go to step 82.
81. Continue to check for continuity between PCM connector terminal C12 and body ground, while disconnecting the throttle body 6P connector.
Is there continuity?
YES - Repair short in the wire between the PCM (C12) and the throttle body.
NO - Replace the throttle body. Removal and Replacement
82. Check for continuity between PCM connector terminal A25 and body ground.
Is there continuity?
YES - Go to step 83.
NO - Go to step 84.
83. Continue to check for continuity between PCM connector terminal A25 and body ground, while disconnecting the APP sensor 6P connector.
Is there continuity?
YES - Repair short in the wire between the PCM (A25) and the APP sensor.
NO - Replace the accelerator pedal module; '09 model. Service and Repair
84. Check for continuity between PCM connector terminal A24 and body ground.
Is there continuity?
YES - Go to step 85.
NO - Go to step 86.
85. Continue to check for continuity between PCM connector terminal A24 and body ground, while disconnecting the APP sensor 6P connector.
Is there continuity?
YES - Repair short in the wire between the PCM (A24) and the APP sensor.
NO - Replace the accelerator pedal module; '09 model. Service and Repair
86. Check for continuity between PCM connector terminal A19 and body ground.
Is there continuity?
YES - Go to step 87.
NO - Update the PCM if it does not have the latest software, PCM Update or substitute a known-good PCM, Initial Inspection and Diagnostic Overview then recheck. If the symptom/indication goes away with a known-good PCM, replace the original PCM. Service and Repair
87. Continue to check for continuity between PCM connector terminal A19 and body ground, while disconnecting these parts, one at a time:
- A/C pressure sensor 3P connector
- FTP sensor 3P connector
Does continuity go away when one of the above parts is disconnected?
YES - Replace the part that caused an open when it was disconnected.
NO - Repair short in the wire between the PCM (A19) and the A/C pressure sensor or the FTP sensor.