Curiosii for ever!: Car repair manuals for everyone.

Splash Shield Replacement




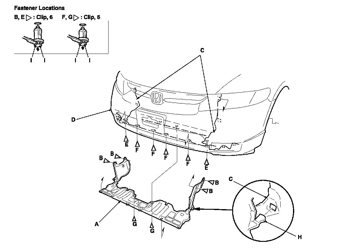
Splash Shield Replacement

NOTE: Take care not to scratch the body.

1. Remove the splash shield (A).
-1 Remove the clips (B) that secure the front inner fender (C) and front splash shield to the body.
-2 From under the front bumper (D), remove the clips (E, F).
-3 From under the body, remove the clips (G).
-4 Release the hooks (H) of the front splash shield, then pull the splash shield out.
-4 NOTE: To release the clips B, E, F, and G, pry up on the center pin at the notch (I).

2. Install the splash shield in the reverse order of removal, and note these items:
- If the clips are damaged or stress-whitened, replace them with new ones.

- Push the clips and the hooks into place securely.