Curiosii for ever!: Car repair manuals for everyone.

Back Window Glass: Service and Repair




Rear Window Replacement

NOTE:

- Put on gloves to protect your hands.

- Wear eye protection while cutting the glass adhesive with a piano wire.

- Use seat covers to avoid damaging any surfaces.

- Do not damage the rear window defogger grid lines, window antenna grid lines, and terminals.

1. Remove these items:
- Trunk lid

- C-pillar trim, both sides:
- 2-door 2-Door

- 4-door 4-Door

- Rear shelf Service and Repair

2. Disconnect the window antenna connectors (A) and rear window defogger connectors (B). 4-door is shown; 2-door is similar.

3. If the old rear window will be reinstalled, make alignment marks across the glass and the body with a grease pencil.






4. Pull down the rear portion of the headliner (A) by detaching the clips. Take care not to bend the headliner excessively, or you may crease or break it. 4-door is shown; 2-door is similar.

5. Apply protective tape along the inside and outside edges of the body. Using an awl, make a hole through adhesive from inside the vehicle at a corner of the rear window. Push a piece of piano wire through the hole, and wrap each end around a piece of wood.






6. Remove the lower rubber dam (A) from the lower edge of the rear window (B). If necessary, cut the rubber dam with a utility knife. 4-door is shown; 2-door is similar.






7. With a helper on the outside, pull the piano wire (A) back and forth in a sawing motion. Hold the piano wire as close to the rear window (B) as possible to prevent damage to the body, and carefully cut through the adhesive (C) around the entire rear window. 4-door is shown; 2-door is similar.

8. Carefully remove the rear window.

9. Use a putty knife to scrape old adhesive smooth to a thickness of about 2 mm (0.08 in.) on the bonding surface around the entire rear window opening flange:
- Do not scrape down to the painted surface of the body; damaged paint will interfere with proper bonding.

- Remove the fasteners from the body.

10. Clean the body bonding surface with a shop towel dampened in isopropyl alcohol. After cleaning, keep oil, grease, and water from getting on the surface.

11. If the old rear window will be reinstalled, use a putty knife to scrape off all of old adhesive, the fasteners, and the rubber dams from the rear window. Clean the inside face and the edge of the rear window with isopropyl alcohol where new adhesive will be applied. Make sure the bonding surface is kept free of water, oil, and grease.






Cutting positions - 2-door





Cutting positions - 4-door





12. Apply primer to the edge of the rear window (A) where the lower rubber dam adhesive tape will be attached as shown. Attach the lower rubber dam (B) with adhesive tape (C) to the lower edge of the rear window:
- After installing the rubber dam, cut the ends (D) of the rubber dam as shown.

- Be careful not to touch the windshield where adhesive will be applied.

- 4-door is shown; 2-door is similar.










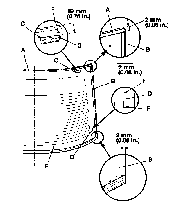
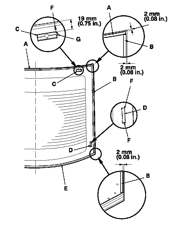
13. Attach the upper rubber dam (A), the side rubber dams (B), the upper clips (C), and the fasteners (D) with adhesive tape to the inside face of the rear window (E) as shown. Before installing the upper clips, apply primer to the area where adhesive tape will be applied to the inside face of the windshield:
- First attach the upper rubber dam, then attach the side rubber dams around the edge of the rear window. Be sure the top of the side rubber dam contacts with the bottom of the upper rubber dam. If necessary, cut the excess rubber dams.

- Be sure the upper clips and the fasteners line up with the alignment marks (F).

- Be sure the convex portion (G) of the left and right clips face the right side.

- Be careful not to touch the rear window where adhesive will be applied.













2-door





4-door





14. Attach the fasteners (A) with adhesive tape to the rear window opening flange (B) of the body on both sides.





2-door





4-door





15. Set the rear window in the opening, and center it. Make alignment marks (A) across the rear window and body with a grease pencil at the four points shown. Make sure the pins (B) of both upper clips (C) contact with the edge of the body holes. Be careful not to touch the rear window where adhesive will be applied. 4-door is shown; 2-door is similar.

16. Remove the rear window.






17. With a sponge applicator, apply a light coat of glass primer to the rear window (A) along the edge of the rubber dams (B) as shown, then lightly wipe it off with gauze or cheesecloth:
- With the printed dots (C) on the rear window as a guide, apply the glass primer to both corner portions of the rear window.

- Do not apply body primer to the rear window, and do not get body and glass primer sponge applicators mixed up.

- Never touch the primed surfaces with your hands. If you do, adhesive may not bond to the rear window properly, causing a leak after the rear window is installed.

- Keep water, dust, and abrasive materials away from the primed surfaces.

2-door





4-door





18. With a sponge applicator, carefully apply a light coat of body primer to any exposed paint or metal around the flange where new adhesive will be applied. Let the primer dry for at least 10 minutes:
- Do not apply body primer to any remaining original adhesive on the flange.

- Be careful not to mix up the body and glass primer sponge applicators.

- Never touch the primed surfaces with your hands.

2-door





4-door





19. Cut a "V" in the end of the nozzle (A) on the adhesive cartridge as shown.






20. Put the cartridge on a caulking gun, and run a continuous bead of adhesive (A) to the rear window (B) along the edge of the rubber dams (C) as shown:
- With the printed dots (D) on the rear window as a guide, apply adhesive to both side portions of the rear window.

- Apply adhesive within 30 minutes after applying the glass primer. Make a slightly thicker bead at each corner.

21. Use suction cups to hold the rear window over the opening, align it with the alignment marks you made in step 15, and set it down on adhesive. Lightly push on the rear window until its edges are fully seated on adhesive all the way around.
NOTE: Do not open or close any of the doors for about an hour until adhesive is dry.

22. Scrape or wipe the excess adhesive off with a putty knife or towel. To remove adhesive from a painted surface or the rear window, use a soft shop towel dampened with isopropyl alcohol.

23. After adhesive has dried, spray water over the rear window and check for leaks. Mark the leaking areas, let the rear window dry, then seal with sealant. Let the vehicle stand for at least 4 hours after rear window installation. If the vehicle has to be used within the first 4 hours, it must be driven slowly.

24. Reinstall all remaining removed parts.
NOTE: Advise the customer not to do the following things for 2 to 3 days:

- Slam the doors with all the windows rolled up.

- Twist the body excessively (such as when going in and out of driveways at an angle or driving over rough, uneven roads).

2-door





4-door