Curiosii for ever!: Car repair manuals for everyone.

Power and Ground Distribution: Testing and Inspection




Power Relay Test

Special Tools Required
- Relay puller 07AAC-000A1A0

Use this chart to identify the type of relay, then do the test listed for it.





*: Carefully remove the relay from the driver's under-dash fuse/relay box using the relay puller. Do not use pliers. Pliers will damage the relay.






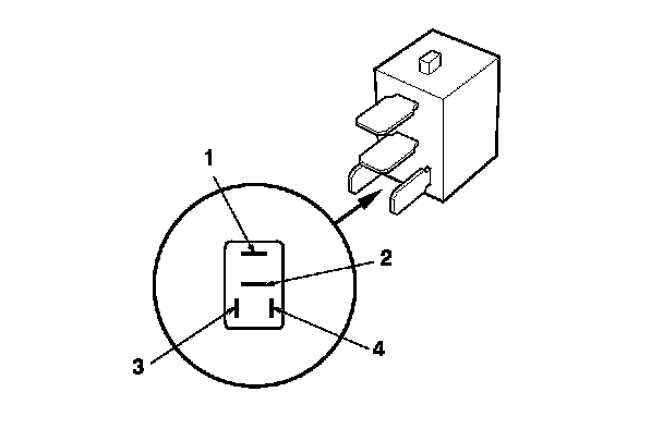
Normally-open type

Check for continuity between the terminals:

- There should be continuity between the terminals No. 1 and No. 2 when battery power is connected to the terminal No. 4, and body ground is connected to the terminal No. 3.

- There should be no continuity between the terminals No. 1 and No. 2 when power is disconnected.









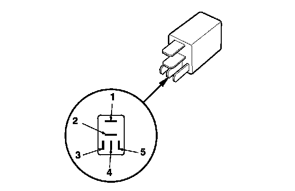
Five-terminal type

Check for continuity between the terminals:

- There should be continuity between the terminals No. 1 and No. 2 when battery power is connected to the terminal No. 5, and body ground is connected to the terminal No. 3.

- There should be no continuity between the terminals No. 1 and No. 4 when power is disconnected.









Relay Circuit Board Test

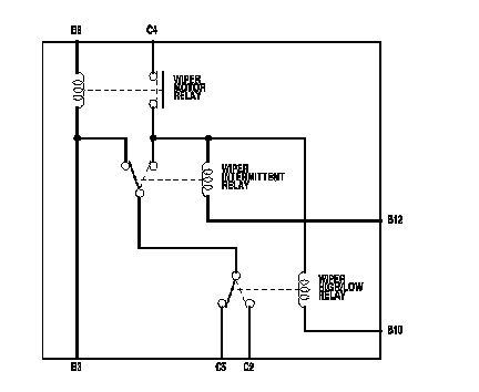
The relay circuit board is part of the under-hood fuse/relay box, and it contains these relays:

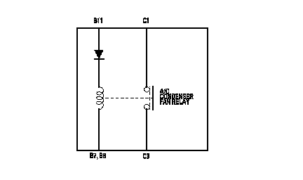
- A/C condenser fan relay

- Wiper motor relay

- Wiper intermittent relay

- Wiper high/low relay

1. Disconnect the negative battery cable, then disconnect the under-hood fuse/relay box connectors B (14P) and C (5P).






2. If any of these relays fails the test, replace the relay circuit board.
A/C condenser fan relay

There should be continuity between the terminals C1 and C3 when battery power is connected to the terminal B11, and body ground is connected to the terminal B7 (or B8). There should be no continuity between the terminals C1 and C3 when power is disconnected.

Wiper motor relay circuit test:

There should be continuity between the terminalsC4 and B10, and terminals C4 and B12 when battery power is connected to the terminal B9, and body ground is connected to the terminal B3. There should be no continuity between the terminals C4 and B10, and terminals C4 and B12 when power is disconnected.

Wiper intermittent relay circuit test:

There should be battery voltage between the terminal C5 and body ground when battery power is connected to the terminals B9 and C4, and body ground is connected to the terminals B3 and B12. There should be no voltage between the terminal C5 and body ground when the terminal B12 is disconnected.

Wiper high/low relay circuit test:

There should be continuity between the terminals B3 and C2 when battery power is connected to the terminals B9 and C4, and body ground is connected to the terminals B3 and B10.

There should be no continuity between the terminals B3 and C2, and there should be continuity between the terminals B3 and C5 when power is disconnected.

A/C condenser fan relay





Wiper motor relay, Wiper intermittent relay, Wiper high/low relay