Curiosii for ever!: Car repair manuals for everyone.

Head Rest: Testing and Inspection




Front Seat Active Head Restraint Inspection

NOTE: If the vehicle has been in a collision, always inspect the active head restraint, even if they appear reusable, by doing the following procedure.

1. Manual seat/manual height adjustable seat: Fold the seat-back forward, then recline the seat-back to the first lock position, and adjust the head restraint to the highest position.

2. 10-way power seat: With the recline switch, move the seat-back fully forward.

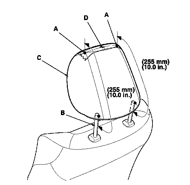
3. Apply masking tape on the top of the head restraint.

4. Make marks (A) on both sides at 255 mm (10.0 in.) upward from the roots of the head restraint frame (B) along the back of the head restraint (C) surface. Make a center of these points as a datum point (D).






5. Push the head restraint (A) forward, and check: With a scale, measure the level amount of the head restraint movement. The head restraint should move more than 50 mm (2.0 in.) without resistance. If it is less than 50 mm (2.0 in.), or the head restraint doesn't move smoothly, replace the seat-back frame:
- Driver's seat Front Seat Frame Replacement - Drivers Seat

- Passenger's seat:
- 2-door Front Seat Frame Replacement - Passengers Seat (2-Door)

- 4-door Front Seat Frame Replacement - Passengers Seat (4-Door)