Curiosii for ever!: Car repair manuals for everyone.

Safing Sensor: Service and Repair




Rear Safing Sensor Replacement

Removal

1. Do the battery terminal disconnection procedure, Procedures then wait at least 3 minutes before starting work.

2. Remove the rear seat cushion. Rear Seat Removal/Installation

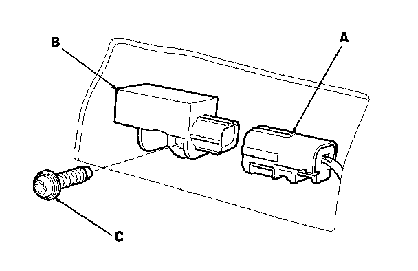
3. Disconnect the SRS floor wire harness 4P connector (A) from the rear safing sensor (B).

4. Remove the TORX bolt (C) using a TORX T30 bit, then remove the rear safing sensor.






Installation

1. Install the rear safing sensor with a new TORX bolt (A) then connect the SRS floor wire harness 4P connector (B) to the rear safing sensor (C).

2. Do the battery terminal reconnection procedure. Procedures

3. Confirm proper SRS operation: Turn the ignition switch to ON (II); the SRS indicator should come on for about 6 seconds and then go off.

4. Reinstall all removed parts.