Curiosii for ever!: Car repair manuals for everyone.

Outside Air Temperature Sensor Replacement (With Climate Control)




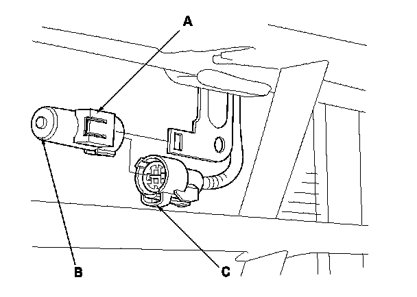
Outside Air Temperature Sensor Replacement

1. Lift the tab (A) to release the lock, then remove the outside air temperature sensor (B) from the front bumper beam. Disconnect the 2P connector (C) from the outside air temperature sensor.

2. Install the sensor in the reverse order of removal.