Curiosii for ever!: Car repair manuals for everyone.

Engine Removal




Engine Removal

Special Tools Required
- Engine hanger adapter VSB02C000015*
- Engine support hanger, A and Reds AAR-T1256*
- Front subframe adapter VSB02C000016*
- Universal eyelet 07AAK-SNAA120
*: These special tools are available through the Honda Tool and Equipment Program.

NOTE:

- Use fender covers to avoid damaging painted surfaces.

- To avoid damaging the wiring and terminals, unplug the wiring connectors carefully while holding the connector portion.

- Mark all wiring and hoses to avoid misconnection. Also, be sure that they do not contact other wiring or hoses, or interfere with other parts.

1. Remove the hood support rod, then use it as shown to prop the hood in the wide-open position.

2. Remove the front grille cover:
- 2-door Front Grille Cover Replacement (2-Door)

- 4-door Front Grille Cover Replacement (4-Door)

3. Remove the strut brace (if equipped). Frame Brace Replacement

4. Relieve the fuel pressure. Service and Repair

5. Do the battery removal procedure. Removal and Replacement

6. Remove the intake air duct. Water Outlet Removal and Installation

7. Remove the air cleaner assembly. Service and Repair






8. Remove the harness clamps (A), then remove the battery base (B).

9. Remove the water separator. Service and Repair






10. Disconnect the battery cables (A) from the under-hood fuse/relay box.

11. Disconnect the harness connector (B), and remove the harness connector from the bracket (C).






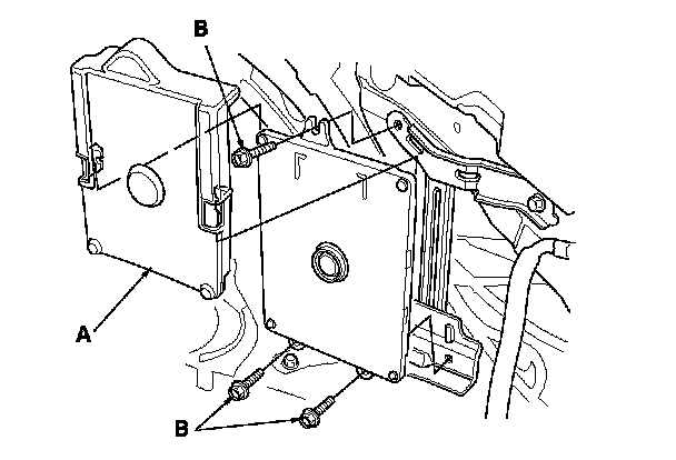
12. Remove the engine control module (ECM)/powertrain control module (PCM) cover (A), then remove the three bolts (B) securing the ECM/PCM.






13. Disconnect the ECM/PCM connectors (A) and the engine wire harness connector (B).

14. Remove the harness clamps (C) and the bracket (D).






15. Disconnect the evaporative emission (EVAP) canister hose (A) and the brake booster vacuum hose (B).






16. Remove the quick-connect fitting cover (A), then disconnect the fuel feed hose (B). Fuel Line/Quick-Connect Fitting Removal

17. Remove the drive belt. Service and Repair






18. Remove the power steering (P/S) pump (A) without disconnecting the P/S hoses, and the P/S hose bracket (B).

19. Wait until the engine is cool, then carefully remove the radiator cap.

20. Remove the A/C condenser fan shroud assembly. Service and Repair

21. M/T model: Remove the three bolts securing the shift cable holder, then remove the shift cable and the select cable. Do not bend the cables excessively. Manual Transmission Removal

22. M/T model: Remove the clutch slave cylinder and the clutch line bracket mounting nut. Do not operate the clutch pedal once the slave cylinder has been removed. Manual Transmission Removal

23. Raise the vehicle on the lift.

24. Remove the front wheels.






25. Remove the splash shield.

26. Loosen the drain plug in the radiator, and drain the engine coolant. Service and Repair

27. Drain the engine oil. Service and Repair

28. Drain the transmission fluid:
- Manual transmission MTF Inspection and Replacement

- Automatic transmission ATF Replacement





29. Remove exhaust pipe A.

30. A/T model: Remove the shift cable:
- For Saitama Factory-produced models. Automatic Transmission Removal

- For Marysville, Ohio Factory-produced models. Automatic Transmission Removal

31. Remove the damper fork. Front Damper/Spring Removal and Installation

32. Separate the knuckles from the lower arms. Service and Repair

33. Remove the driveshafts. Driveshaft Removal Coat all precision-finished surfaces with new engine oil. Tie a plastic bag over the driveshaft ends.






34. Remove the bolt (A) securing the P/S fluid line bracket, and unclamp the P/S fluid line clamp (B) on the front subframe.






35. Remove the bolts securing the steering gearbox mounting bracket (A) and the heat shield (B). (right side)

36. Lower the vehicle on the lift.






37. Remove the two bolts (A) securing the P/S fluid line brackets.






38. Remove the bolts securing the steering gearbox stiffeners (A) and the washers (B). (left side)






39. A/T model: Disconnect the ATF cooler hoses, then plug the lines and hoses.






40. Disconnect the heater hoses (A) and the upper radiator hose (B).






41. Disconnect the quick connector from the thermostat cover. Thermostat Replacement

42. Attach the engine hanger adapter (VSB02C000015) to the threaded hole in the cylinder head.






43. Install the engine support hanger (AAR-T1256), then attach the hook to the slotted hole in the engine hanger adapter. Tighten the wing nut (A) by hand to lift and support the engine/transmission.
NOTE: Be careful when working around the windshield.






44. Disconnect the vacuum hose (A) and remove the front engine mount stop (B), then remove the front engine mount bolt (C).

45. A/T model: Remove the ATF cooler pipe brackets (D).






46. M/T model: Remove the rear engine mount.






47. A/T model: Remove the rear engine mount (A), then remove the rear engine mount upper bracket (B).

48. Raise the vehicle on the lift.






49. Remove the nuts securing the lower transmission mount.






50. Disconnect the A/C compressor clutch connector (A), then remove the A/C compressor (B) without disconnecting the A/C hoses. Do not bend the A/C hoses excessively.






51. Remove the subframe middle mounts.






52. Attach the front subframe adapter (VSB02C000016) to the subframe and hang the belt (A) of the subframe adapter over the front of the subframe (B), then secure the belt with its stop (C).

53. Raise the jack and line up the slots in the front subframe adapter arms with the bolt holes on the jack base, then securely attach them with four bolts.

54. Remove the four 12 x 1.25 mm bolts (A), the front subframe mounting bolts (B) securing four stiffeners (C), then lower the front subframe (D).

55. Lower the vehicle on the lift.

56. Support the engine with a jack and a wood block under the oil pan.

57. Remove the ground cable (A).

58. Remove the side engine mount bracket (B).

59. Install the universal eyelet (07AAK-SNAA120).

60. Attach a chain hoist (A) to the universal eyelet (B), and the transmission hook (C), then lift the engine/transmission until it is securely supported by the chain hoist, and remove the engine support hanger.

61. Remove the upper transmission mount bracket mounting bolts.
NOTE: Do not remove the TORX bolt (A) from the upper transmission mount. If the TORX bolt is removed, the upper transmission mount must be replaced as an assembly.

62. Remove the ground cable.

63. Check that the engine/transmission is completely free of vacuum hoses, fuel hoses, coolant hoses, and electrical wiring.

64. Slowly lower the engine/transmission about 150 mm (6 in.). Check once again that all hoses and electrical wiring are disconnected and free from the engine/transmission, then lower it all the way.

65. Disconnect the chain hoist from the engine/ transmission.

66. Raise the vehicle, and remove the engine/transmission from under the vehicle.