Curiosii for ever!: Car repair manuals for everyone.

Rearview Mirror Replacement




Rearview Mirror Replacement

Without Automatic Dimming Mirror

1. Turn the rearview mirror base (A) 90 °.






2. Slide the rearview mirror (A) down toward the bottom of the windshield to detach it from the spring (B) in the mount (C).

3. If necessary, remove the spring from the mount.

4. Install the rearview mirror in the reverse order of removal.






With Automatic Dimming Mirror

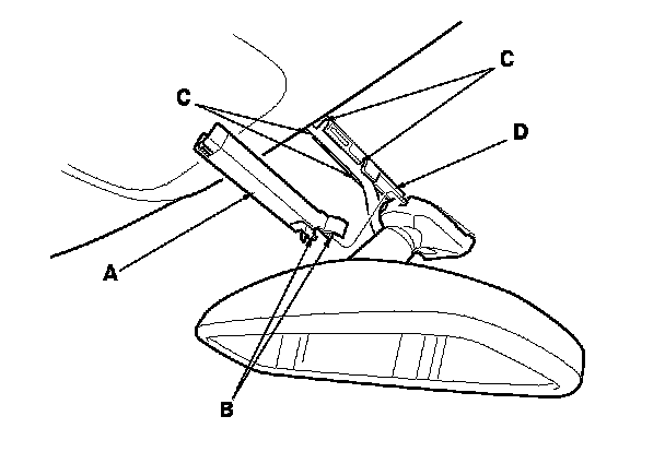
1. Pry out the rearview mirror harness lower cover (A) to detach the hooks (B), then slide the lower cover rearward, and remove the lower cover by detaching the hooks (C) of the rearview mirror harness cover base (D).






2. Disconnect the connector (A).






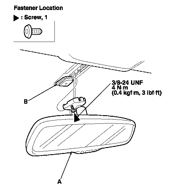
3. Using a TORX T20 bit, loosen the TORX screw, then slide the rearview mirror (A) rearward and off the mount (B).

4. Install the mirror in the reverse order of removal, and note these items:
- Before installing the mirror, remove the TORX screw, and apply medium strength liquid thread lock to it.

- Make sure the connector is plugged in properly.