Curiosii for ever!: Car repair manuals for everyone.

Steering Column Lock: Service and Repair

Steering Lock Replacement
1. Remove the steering column.
2. Center punch each of the two shear bolts, and drill their heads off with a 5 mm (3/16 in.) drill bit. Be careful not to damage the switch body when removing the shear bolts.





3. Remove the shear bolts from the switch body.
4. Install the switch body without the key inserted.
5. Loosely tighten the new shear bolts.
6. Insert the ignition key, and make sure the steering wheel lock works properly and that the ignition key turns freely.
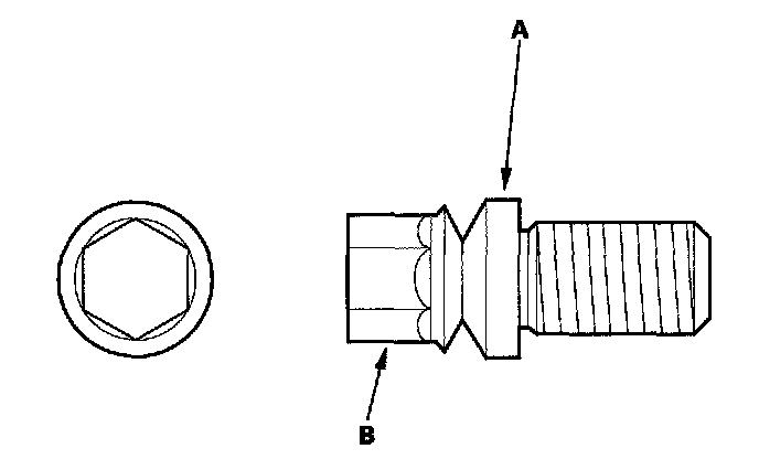
7. Tighten the shear bolts (A) until the hex heads (B) twist off.





8. Install the steering column.
9. Register the immobilizer control unit-receiver with the HDS, and make sure the immobilizer system works properly.