Curiosii for ever!: Car repair manuals for everyone.

Wiper Blade: Service and Repair

Wiper Blade Replacement

1. Pull up the wiper arms from the windshield.
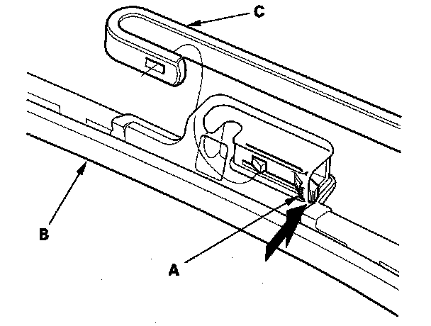
2. Push the tab (A) and remove the wiper blade (B) from the wiper arm (C).






3. Find the side of the blade labeled "LOCK" (A), then pull back the end of the blade and slide out the old rubber (B).






4. Install a new rubber in the reverse order of removal.
5. Install the wiper blades onto the windshield wiper arms in the reverse order of removal.
6. Test by turning on the wipers. If the blades slip, turn off the wipers and seat the attachments more firmly.