Curiosii for ever!: Car repair manuals for everyone.

Headlamp: Service and Repair

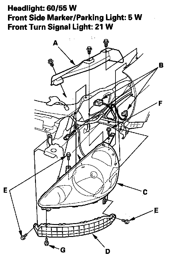
Headlight Replacement

1. Remove the front bumper.
2. Remove the cover (A).
3. Disconnect the connectors (B) from the headlight (C).






4. Remove the three mounting bolts (E) and the screw (F) from the headlight.
5. Remove the bolt (G) and the corner upper beam (D).
6. Install in the reverse order of removal.
7. After replacement, adjust the headlights to local requirements.