Curiosii for ever!: Car repair manuals for everyone.

Door Lock Switch Test

Door Lock Switch Test

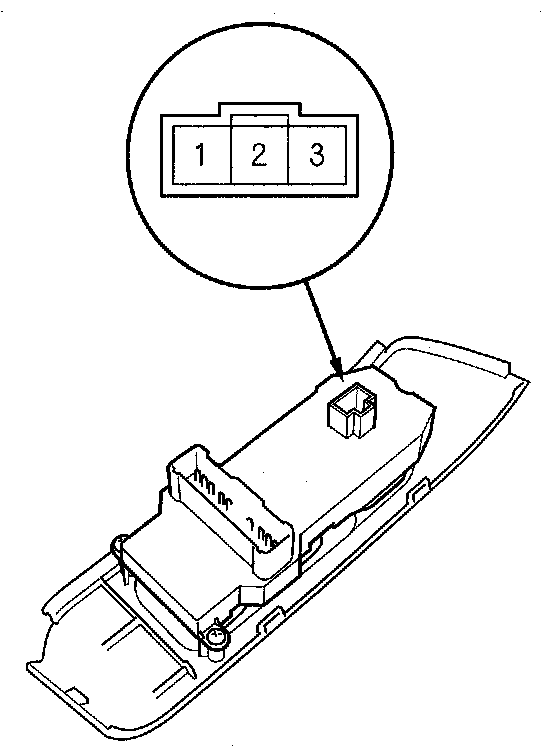
1. Remove the power window master switch.
2. Disconnect the 3P connector from the power window master switch.






3. Check for continuity between the terminals in each switch position according to the table.






4. If the continuity is not as specified, replace the power window master switch.