Curiosii for ever!: Car repair manuals for everyone.

A/T Clutch Pressure Control Solenoid Valve A Test

A/T Clutch Pressure Control Solenoid Valve A Test

1. Connect the HDS to the DLC (A) located behind the driver's dashboard lower cover.





2. Turn the ignition switch to ON (II). Make sure the HDS communicates with the PCM. If it does not, go to the DLC circuit troubleshooting.
3. Select Clutch Pressure Control (Linear) Solenoid Valve A in the Miscellaneous Test Menu with the HDS.
4. Test A/T clutch pressure control solenoid valve A with the HDS.

^ If the valve tests OK, the test is complete. Disconnect the HDS.
^ If the valve does not test OK, follow the instructions on the HDS.
^ If the valve does not test OK, and the HDS does not determine the cause, go to step 5.

5. Remove the air cleaner assembly and the intake air duct.
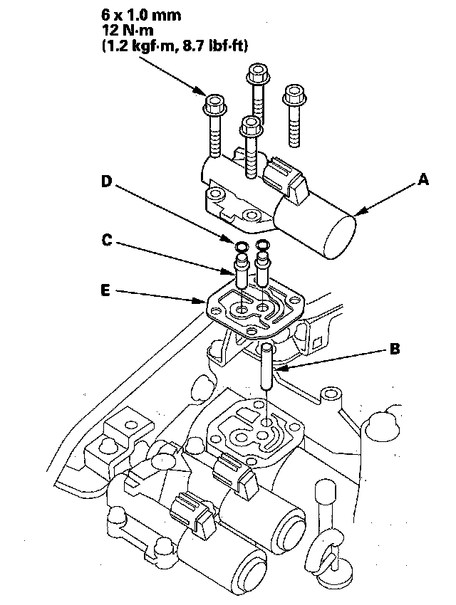
6. Remove the mounting bolts securing the harness cover (A), and remove the harness clamp (B).





7. Disconnect the A/T clutch pressure control solenoid valve A connector (A).





8. Measure the A/T clutch pressure control solenoid valve A resistance at the connector terminals.

Standard: 3 - 10 ohms

^ If the resistance is out of standard, replace A/T clutch pressure control solenoid valve A.
^ If the resistance is within the standard, go to step 9.

9. Connect a jumper wire from the negative battery terminal to A/T clutch pressure control solenoid valve A connector terminal No. 2, and connect another jumper wire from the positive battery terminal to connector terminal No. 1.

^ If a clicking sound is heard, the valve is OK. Reconnect the connector, and install all removed parts.
^ If no clicking sound is heard, go to step 10.

10. Remove the mounting bolts and A/T clutch pressure control solenoid valve A.





11. Remove the ATF pipe (B), the ATF joint pipes (C), the O-rings (D), and the gasket (E).
12. Check the fluid passage of the solenoid valve for contamination.
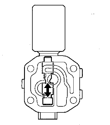
13. Connect a jumper wire from the negative battery terminal to A/T clutch pressure control solenoid valve A connector terminal No. 2, and connect another jumper wire from the positive battery terminal to connector terminal No. 1. Make sure A/T clutch pressure control solenoid valve A moves.





14. Disconnect one of the jumper wires and check the valve movement at the fluid passage in the valve body mounting surface. If the valve binds or moves sluggishly, or if the solenoid valve does not operate, replace A/T clutch pressure control solenoid valve A.
15. Clean the mounting surfaces and fluid passages of the solenoid valve body and the transmission housing.
16. Install a new gasket with the blue side down and the white side up on the transmission housing, and install the ATF pipe and the ATF joint pipes.
17. Install new O-rings over the ATF joint pipes.
18. Install A/T clutch pressure control solenoid valve A.
19. Check the connectors for rust, dirt, or oil, clean or repair if necessary, then connect the connectors securely.
20. Secure the harness cover with the mounting bolts, and install the harness clamp.
21. Install the intake air duct and the air cleaner assembly.