Curiosii for ever!: Car repair manuals for everyone.

Condenser HVAC: Service and Repair

A/C Condenser Replacement

1. Recover the refrigerant with a recovery/recycling/charging station.
2. Remove the front bumper.
3. Remove the bolts, then disconnect the discharge hose (A) from the A/C condenser.






4. Remove the bolt, then disconnect the receiver line (A) from the A/C condenser.






5. Remove the bolts and the A/C condenser upper mount brackets (A).






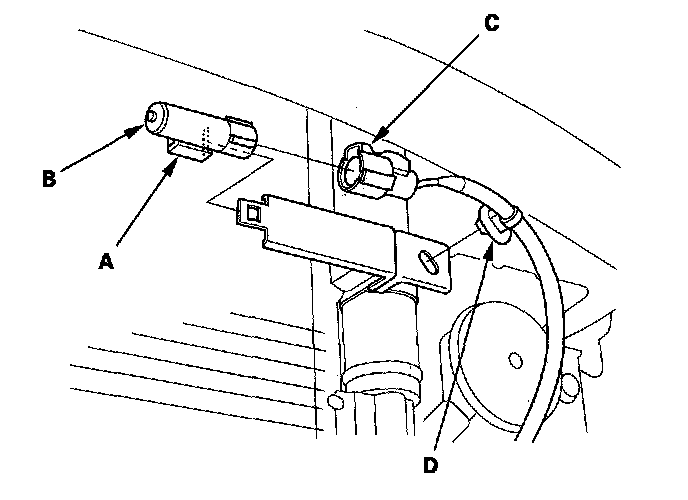
6. Lift the tab (A) to release the lock, then remove the outside air temperature sensor (B) from the receiver/dryer desiccant bracket. Disconnect the 2P connector (C), then remove the clip (D).






7. Remove the A/C condenser (A). Be careful not to damage the radiator and A/C condenser fins when removing the A/C condenser.






8. Install the A/C condenser in the reverse order of removal, and note these items:
- If you're installing a new A/C condenser, add refrigerant oil (SP-10).
- Replace the O-rings with new ones at each fitting, and apply a thin coat of refrigerant oil before installing them. Be sure to use the correct O-rings for HFC-134a (R-134a) to avoid leakage.
- Immediately after using the oil, reinstall the cap on the container, and seal it to avoid moisture absorption.
- Do not spill the refrigerant oil on the vehicle; it may damage the paint; if the refrigerant oil contacts the paint, wash it off immediately.
- Charge the system.