Curiosii for ever!: Car repair manuals for everyone.

Humidity Sensor: Service and Repair

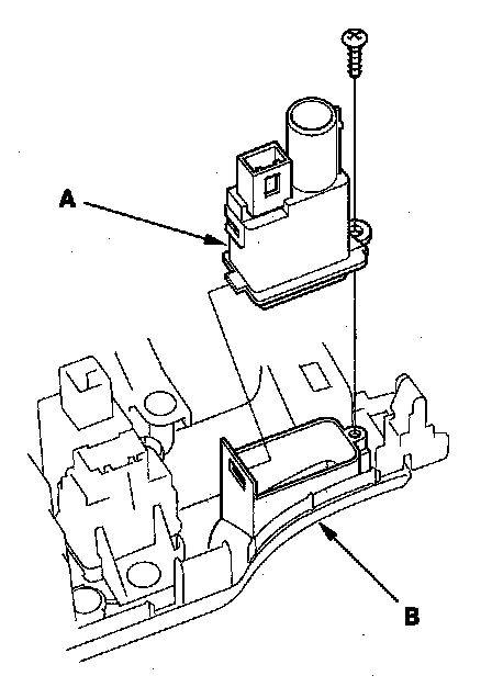
Humidity/In-car Temperature Sensor Replacement

1. Remove the center panel, with navigation, without navigation.
2. Remove the self-tapping screw and the humidity/in-car temperature sensor (A) from the center panel (B).






3. Install the sensor in the reverse order of removal. Be sure to connect the air hose securely.