Curiosii for ever!: Car repair manuals for everyone.

Power and Ground Distribution: Testing and Inspection

Power Relay Test

Use this chart to identify the type of relay, then do the test listed for it.






Normally-open type

Check for continuity between the terminals:

- There should be continuity between the No. 1 and No. 2 terminals when battery power is connected to the No. 4 terminal, and battery ground is connected to the No. 3 terminal.
- There should be no continuity between the No. 1 and No. 2 terminals when power is disconnected.






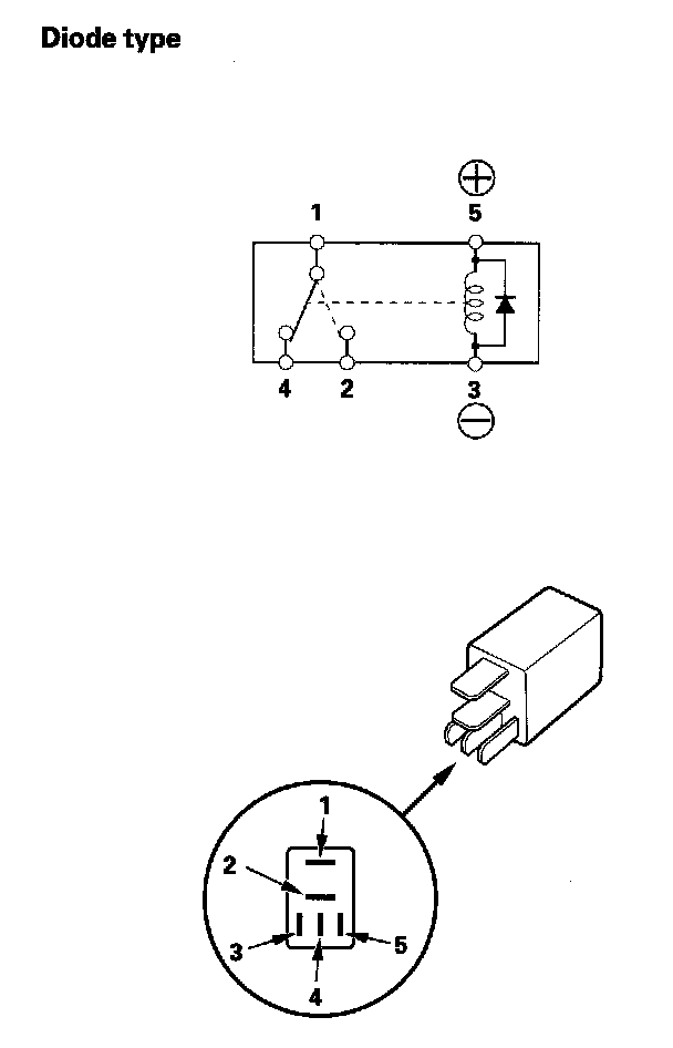
Five-terminal type

Check for continuity between the terminals:

- There should be continuity between the No. 1 and No. 2 terminals when battery power is connected to the No. 5 terminal, and battery ground is connected to the No. 3 terminal.
- There should be continuity between the No. 1 and No. 4 terminals when power is disconnected.






Relay Circuit Board Test

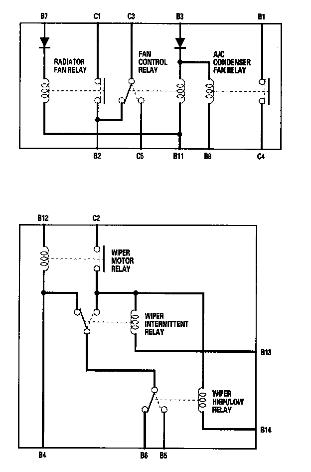
The relay circuit board is part of the under-hood fuse/relay box, and it contains these relays:

- A/C condenser fan relay
- Radiator fan relay
- Fan control relay
- Wiper motor relay
- Wiper intermittent relay
- Wiper high/low relay






1. Disconnect the negative battery cable, then disconnect under-hood fuse/relay box connectors B (14P) and C (5P).

A/C condenser fan relay circuit test
There should be continuity between the B1 and C4 terminals when battery power is connected to the B3 terminal, and battery ground is connected to the B8 terminal.

There should be no continuity between the B1 and C4 terminals when power is disconnected.

Radiator fan relay circuit test
There should be continuity between the C1 and B2 terminals when battery power is connected to the B7 terminal, and battery ground is connected to the B11 terminal.

There should be no continuity between the C1 and B2 terminals when power is disconnected.

Fan control relay circuit test
There should be continuity between the C3 and C5 terminals when battery power is connected to the B3 terminal, and battery ground is connected to the 11 terminal.

There should be continuity between the C3 and B2 terminals when power is disconnected.

Wiper motor relay circuit test
There should be continuity between the C2 and B6 terminals, when battery power is connected to the B12 and C2 terminals, and battery ground is connected to the B4 and B13 terminals.

There should be no continuity between the C2 and B6 terminals, when the ground is disconnected from the B4 terminal.

Wiper intermittent relay circuit test
There should be battery voltage between the B6 terminal and body ground when battery power is connected to the B12 and C2 terminals, and battery ground is connected to the B4 and B13 terminals.

There should be no voltage between the B6 terminal and body ground when the B13 terminal is disconnected.

Wiper high/low relay circuit test
There should be continuity between the B4 and B5 terminals when battery power is connected to the B12 and C2 terminals, and battery ground is connected to the B4 and B14 terminals.

There should be no continuity between the B4 and B5 terminals, and there should be continuity between the B4 and B6 terminals when power is disconnected.






2. If the relay circuit test is not as specified, replace the relay circuit board.