Curiosii for ever!: Car repair manuals for everyone.

Power and Ground Distribution: Testing and Inspection

Power Relay Test

Special Tools Required
Relay Puller 07AAC-000A1AO

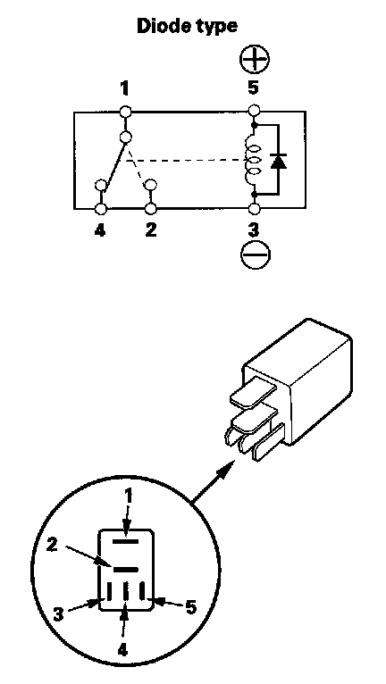
Use this chart to identify the type of relay, then do the test listed for it.






Normally-open type

Check for continuity between the terminals:
- There should be continuity between the No. 1 and No. 2 terminals when battery power is connected to the No. 4 terminal, and body ground is connected to the No. 3 terminal.
- There should be no continuity between the No. 1 and No. 2 terminals when power is disconnected.






Five-terminal type

Check for continuity between the terminals:
- There should be continuity between the No. 1 and No. 2 terminals when battery power is connected to the No. 5 terminal, and body ground is connected to the No. 3 terminal.
- There should be continuity between the No. 1 and No. 4 terminals when power is disconnected.






Relay Circuit Board Test

The relay circuit board is part of the under-hood fuse/relay box, and it contains these relays:
- A/C condenser fan relay
- Wiper motor relay
- Wiper intermittent relay
- Wiper high/low relay

1. Disconnect the negative battery cable, then disconnect the under-hood fuse/relay box connectors B (14P) and C (5P).






2. If any of these relays fails the test, replace the relay circuit board.

A/C condenser fan relay
There should be continuity between the CT and C3 terminals when battery power is connected to the B11 terminal, and body ground is connected to the B7 (or B8) terminal. There should be no continuity between the C1 and C3 terminals when power is disconnected.

Wiper motor relay circuit test:
There should be continuity between the C4 and B10 terminals, and C4 and B12 terminals when battery power is connected to the B9 terminal, and body ground is connected to the B3 terminal. There should be no continuity between the C4 and B10 terminals, and C4 and B12 terminals when power is disconnected.

Wiper intermittent relay circuit test:
There should be battery voltage between the C5 terminal and body ground when battery power is connected to the B9 and C4 terminals, and body ground is connected to the B3 and B12 terminals. There should be no voltage between the C5 terminal and body ground when the B12 terminal is disconnected.

Wiper high/low relay circuit test:
There should be continuity between the B3 and C2 terminals when battery power is connected to the B9 and C4 terminals, and body ground is connected to the B3 and B10 terminals.

There should be no continuity between the B3 and C2 terminals, and there should be continuity between the B3 and C5 terminals when power is disconnected.