Curiosii for ever!: Car repair manuals for everyone.

Seat Position Sensor: Service and Repair

Driver's Seat Position Sensor Replacement

Removal ('06-07 Models)

NOTE:
- Removal of the driver's seat position sensor must be performed according to the precautions/procedures described.
- Do not turn the ignition switch ON (II), and do not connect the battery cable while removing the driver's seat position sensor.

1. Disconnect the negative cable from the battery, and wait at least 3 minutes before beginning work.
2. Disconnect the driver's airbag 4P connector.
3. Remove the driver's seat assembly.




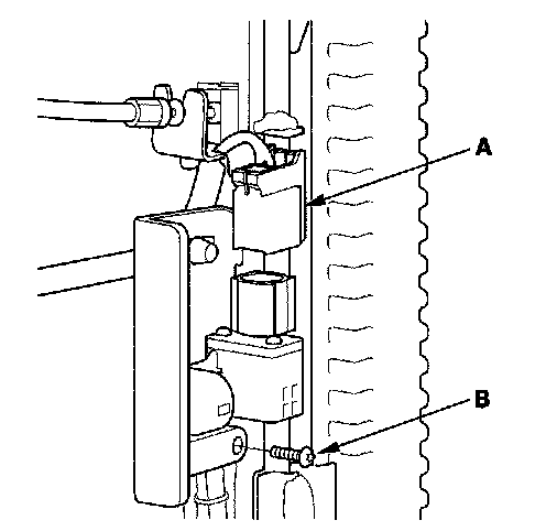
4. Disconnect the rear harness 2P connector (A) from the driver's seat position sensor.
5. Using a TORX T30 bit, remove the Torx bolt (B), then remove the driver's seat position sensor.

Installation

NOTE:
- Be sure to install the harness wires so they are not pinched or interfering with other parts.
- Do not turn the ignition switch ON (II), and do not connect the battery cable while installing the driver's seat position sensor.
- After installing the driver's seat position sensor, make sure it is clean. Keep it away from dust.




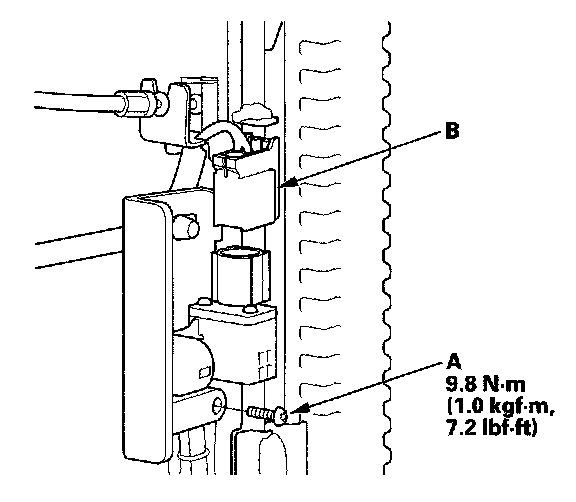
1. Install the new driver's seat position sensor with a TORX bolt (A), then connect the rear harness 2P connector to the driver's seat position sensor (B).
2. Install the driver's seat assembly.
3. Reconnect the driver's airbag 4P connector.
4. Reconnect the negative cable to the battery.
5. Check the operation of the driver's seat position sensor with the HDS.