Curiosii for ever!: Car repair manuals for everyone.

Impact Sensor: Service and Repair

Front Impact Sensor Replacement

Removal ('06-07 Models)

1. Disconnect the negative cable from the battery, and wait at least 3 minutes before beginning work.
2. Disconnect the driver's airbag 4P connector, the passenger's airbag 4P connector, and both seat belt tensioner 2P connectors.
3. Remove the front bumper.




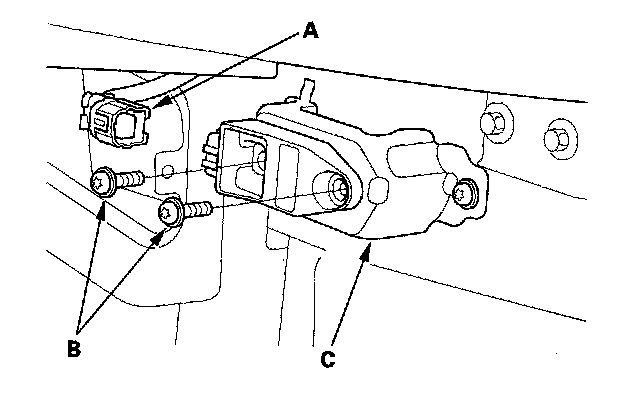
4. Disconnect the engine compartment wire harness 2P connector (A), and using a TORX T30 bit, remove the two TORX bolts (B), then remove the front impact sensor (C).

Installation




1. Install the new front impact sensor with TORX bolts (A), then connect the engine compartment wire harness 2P connector (B) to the front impact sensor (C).
2. Reconnect the driver's airbag 4P connector, the passenger's airbag 4P connector, and both seat belt tensioner 2P connectors.
3. Reconnect the negative cable to the battery.
4. Install all removed parts.
5. After installing the front impact sensor, confirm proper system operation: Turn the ignition switch ON (II); the SRS indicator should come on for about 6 seconds and then go off.