Curiosii for ever!: Car repair manuals for everyone.

Fluid Line/Hose: Service and Repair

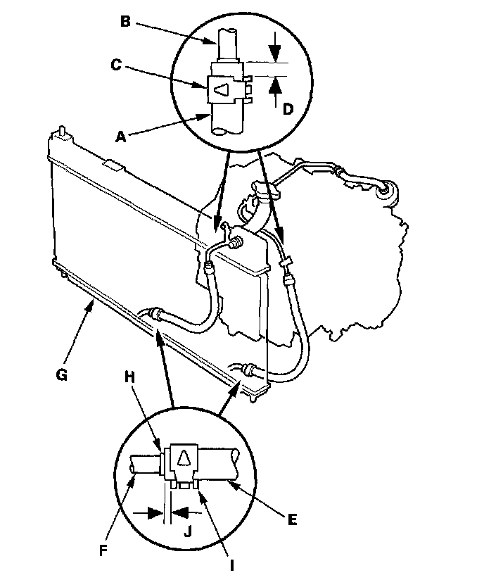
ATF Cooler Hose Replacement
1. Insert the ATF hoses (A) over the ATF cooler lines (B) on the transmission until the hoses contact the bracket of the ATF lines.





2. Install the clamp (C) to secure the hoses at 6 - 8 mm (0.2 - 0.3 in.) (D) from the hose end.
3. Install the ATF cooler hoses (E) over the lines (F) on the ATF cooler (G); insert the hoses to the bulge (H) of the lines.
4. Install the clamp (I) to secure the hoses at 2 - 4 mm (0.1 - 0.2 in.) (J) from the hose end.