Curiosii for ever!: Car repair manuals for everyone.

Front Splash Shield Replacement

Front Splash Shield Replacement

2-door

NOTE:
Take care not to scratch the body.




1. Remove the splash shield (A).
1. Remove the clips (B, C) that secure the front inner fender (D) and splash shield to the body.
2. From under the front bumper (E), remove the clips (F).
3. From under the body, remove the clips (G).
4. Release the hooks (H) of the splash shield, then pull the splash shield out.

NOTE: To remove the clips B, C, F and G, pry the inner the clip up at the edge near the line (I) on its head.

2. Install the splash shield in the reverse order of removal, and note these items:
- Check if the clips are damaged or stress-whitened, and if necessary, replace them with new ones.
- Push the clips into place securely.

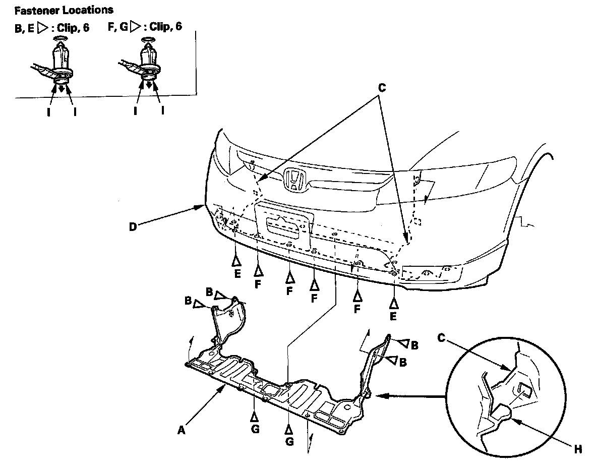
4-door

NOTE:
Take care not to scratch the body.




1. Remove the splash shield (A).
1. Remove the clips (B) that secure the front inner fender (C) and front splash shield to the body.
2. From under the front bumper (D), remove the clips (E, F).
3. From under the body, remove the clips (G).
4. Release the hooks (H) of the front splash shield, then pull the splash shield out

NOTE: To remove the clips B, E, F and G, pry the inner the clip up at the edge near the line (I) on its head.

2. Install the splash shield in the reverse order of removal, and note these items:
- Check if the clips are damaged or stress-whitened, and if necessary, replace them with new ones.
- Push the clips into place securely.